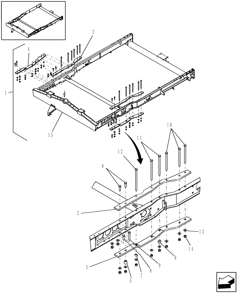
Запчасти Case IH 7010 (39.100.01[01]) - FRAME, SELF-LEVELING - 7010/8010 (39) - FRAMES AND BALLASTING

Схема запчастей Case IH 7010 - (39.100.01[01]) - FRAME, SELF-LEVELING - 7010/8010 (39) - FRAMES AND BALLASTING
8
7
9
13
14
10
b
2
8
2
1
4
12
5
6
11
15
3
FIT
1:1
100%

Артикул

Название

Примечание

Количество

1

87573764

FRAME

1шт.

7010 Only

1шт.

1

87573766

FRAME

1шт.

8010 Only

1шт.

2

87369975

SUPPORT

2шт.

3

87538178

SUPPORT

1шт.

4

87538180

SUPPORT

1шт.

5

87373358

BUSHING

2шт.

6

87369974

SPACER,13mm ID x 25mm OD x 20mm L

2шт.

7

87374530

BUSHING

2шт.

8

86629541

BOLT,Hex, M12 x 1.75 x 40mm, Cl 8.8

6шт.

9

350460

BOLT,Hex, M12 x 1.75 x 75mm, Cl 8.8

2шт.

10

336383

BOLT,Hex, M12 x 1.75 x 180mm, Cl 8.8

6шт.

11

87560260

BOLT,Hex, M12 x 200mm, Cl 8.8

4шт.

12

364053

BOLT,Hex, M12 x 1.75 x 220mm, Cl 8.8

2шт.

13

140046

BELLEVILLE WASHER,M12 Bolt Size x 27mm OD x 1.8mm Thk

20шт.

14

100038

NUT,M12 x 1.75, Cl 8

20шт.

15

87535971

FRAME

1шт.

7010 Only

1шт.

15

87535973

FRAME

1шт.

8010 Only

1шт.

Выбрано товаров: 21