Запчасти Case IH 7010 (74.101.13[01]) - ECCENTRIC AND SHAKER SHOE DRIVE - 7010/8010 (74) - CLEANING

Схема запчастей Case IH 7010 - (74.101.13[01]) - ECCENTRIC AND SHAKER SHOE DRIVE - 7010/8010 (74) - CLEANING
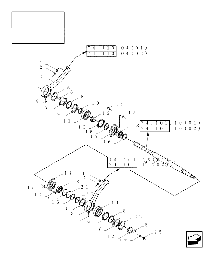
74.101.15(01)
11
74.101.10(01)
11
18
20
25
74.101.10(02)
74.101.15(02)
6
74.110.04(02)
14
13
8
18
19
8
9
9
16
15
2
17
24
15
13
22
10
17
12
21
6
4
16
7
1
10
4
2
74.110.04(01)
12
3
3
1
5
14
7
16
FIT
1:1
100%

Артикул

Название

Примечание

Количество

1

140018

WASHER,13.5mm ID x 24mm OD x 2.5mm Thk

4шт.

2

100038

NUT,M12 x 1.75, Cl 8

4шт.

3

87317702

ARM

2шт.

4

321204

LUBE NIPPLE,M6 x 1.0 x 16mm OAL

2шт.

5

370014

SNAP RING,M130, Internal

2шт.

6

9817851

KEY,8mm OD x 32mm OAL

2шт.

7

NLR

Bearing Cover

2шт.

8

NLR

Felt SEALRING

2шт.

9

NLR

Bearing Cover

2шт.

10

370010

SNAP RING,M100, External

2шт.

11

87315721

BALL BEARING,100mm ID x 150mm OD x 24mm W

2шт.

12

87316081

ECCENTRIC

2шт.

13

9832772

RING,91.5mm ID x 130mm OD x 0.5mm Thk

2шт.

14

9706687

BOLT,M12 x 1.75 x 30mm, Cl 8.8

8шт.

15

140046

BELLEVILLE WASHER,M12 Bolt Size x 27mm OD x 1.8mm Thk

8шт.

16

370013

SNAP RING,M90 x 3mm Thk, Internal

3шт.

17

84320474

BEARING HOUSING

2шт.

18

913716

BALL BEARING,40mm ID x 90mm OD x 23mm W

2шт.

19

86980613

SHAFT

8010

1шт.

19

86980825

SHAFT

7010

1шт.

20

80435045

SHIM

2шт.

21

80448780

SHIM

2шт.

22

11077476

SNAP RING,M150, Internal

2шт.

24

378247

WASHER,21mm ID x 39mm OD x 3mm Thk

1шт.

25

320771

NUT,Thin, M20 x 1.5, Cl 04

1шт.

Выбрано товаров: 25