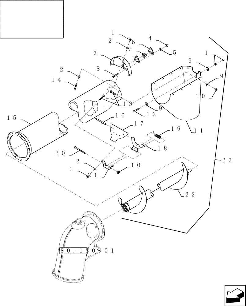
Запчасти Case IH 7010 (80.180.04) - UNLOADING AUGER, HORIZONTAL, 18 FT - 7010/8010 (80) - CROP STORAGE/UNLOADING

Схема запчастей Case IH 7010 - (80.180.04) - UNLOADING AUGER, HORIZONTAL, 18 FT - 7010/8010 (80) - CROP STORAGE/UNLOADING
4
9
23
1
2
7
10
22
12
1
13
80.180.01
21
19
1
6
16
9
3
15
18
2
11
2
10
14
5
20
17
9
8
FIT
1:1
100%

Артикул

Название

Примечание

Количество

1

9706690

NUT,M8 x 1.25, Cl 8

14шт.

2

322358

BELLEVILLE WASHER,M8 Bolt Size x 18mm OD x 1.4mm Thk

10шт.

3

87741381

COVER

Cap; Red

1шт.

4

100016

NUT,M10 x 1.5, Cl 8

3шт.

5

140045

BELLEVILLE WASHER,M10 Bolt Size x 22mm OD x 1.6mm Thk

3шт.

6

86548970

FLANGED BEARING

2шт.

7

87044350

BEARING ASSY,30mm ID x 62mm OD x 18mm W

1шт.

8

338949

CARRIAGE BOLT,M10 x 1.5 x 25mm, Cl 8.8

3шт.

9

322

WASHER,8.73mm ID x 42.07mm OD x 3.43mm Thk

18шт.

11

84064911

CANVAS,1288.3mm W x 1396.9mm L

DISCHARGE SPOUT

1шт.

12

43128

BOLT,M8 x 1.25 x 30mm, Cl 8.8

4шт.

13

86507486

CARRIAGE BOLT,M8 x 1.25 x 20mm, Cl 8.8

12шт.

14

120104

BOLT,Hex, M8 x 1.25 x 20mm, Cl 8.8

4шт.

15

87470157

TUBE

Unloading Auger, Red

1шт.

16

325911

RIVET,Pop, 4.75mm OD x 7.4mm L

5шт.

17

84434535

RUBBER SEAL

1шт.

18

84069871

SUPPORT

Cover, Lid

1шт.

19

84320110

SPRING

1шт.

20

86528166

BOLT,M8 x 1.25 x 126.58mm, Cl 8.8

1шт.

21

84069872

SUPPORT

1шт.

22

87280339

AUGER,5400.5mm L

Extended Wear

1шт.

23

87280358

AUGER

Assembly, Extended Wear, Red; Includes: Refs 1 Thru 22

1шт.

Used On Rice Machines (4/08 And Forward) And As Part Of High Wear Campaign Kit

1шт.

Выбрано товаров: 23