Запчасти Case IH 7088 (74.130.AH) - CLEANER FAN HOUSING (74) - CLEANING

Схема запчастей Case IH 7088 - (74.130.AH) - CLEANER FAN HOUSING (74) - CLEANING
12
19
3
8
13
16
1
4
11
17
9
7
14
13
18
19
21
8
2
6
10
20
5
20
21
15
7
7
22
8
11
8
11
FIT
1:1
100%

Артикул

Название

Примечание

Количество

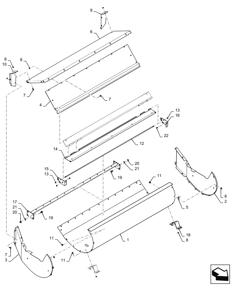
1

1347466C1

HOUSING

Cleaning Fan

1шт.

2

1347012C2

PLATE

Fan, LH, End

1шт.

3

1347013C2

PLATE

Fan, RH, End

1шт.

4

84429659

HANDLE

Fan Top

1шт.

5

516-23127

CLAMP,9/16", Insul, 3/8" Bolt

1шт.

6

1989340C1

PLATE

Fan To Auger Trough

1шт.

7

87656137

BOLT,Flange Hex, M8 x 20mm, Cl 10.9

17шт.

8

86507066

FLANGE NUT,M8 x 1.25, Cl 10

33шт.

9

1541928C1

SUPPORT

Filler, LH

1шт.

10

1541929C1

SUPPORT

Filler, RH

1шт.

11

87681207

BOLT,M8 x 24.1mm, Cl 10.9

14шт.

12

87393155

ROD

Tailings

1шт.

13

87681210

FLANGE NUT,M8 x 1.25, Cl 10

2шт.

14

87471844

DOOR

Cutoff Fan

1шт.

15

1989694C2

PLATE

Fan Cutoff, RH

1шт.

16

1989693C2

PLATE

Fan Cutoff, LH

1шт.

17

191928C2

SUPPORT

Fan Rear

1шт.

18

1541543C1

BRACKET

Fan Housing

2шт.

19

87698835

FLANGE BOLT,M10 x 20mm, Full Thd, Cl 10.9

6шт.

20

86050279

FLANGE NUT,M10 x 1.5, Cl 10

6шт.

21

495-81135

WASHER,10.31mm ID x 25.4mm OD x 3.4mm Thk

4шт.

22

87682383

CARRIAGE BOLT,M8 x 1.25 x 20mm, Cl 10.9

2шт.

Выбрано товаров: 22