Запчасти Case IH 7120 (66.350.01) - BEATER, DISCHARGE (66) - THRESHING

Схема запчастей Case IH 7120 - (66.350.01) - BEATER, DISCHARGE (66) - THRESHING
23
13
21
4
23
24
6
7
19
17
14
20
21
1
11
28
7
20
18
11
12
16
19
25
9
14
39.100.05
11
20
24
7
11
3
26
22
20
8
17
15
1
6
7
2
9
5
8
13
27
18
10
22
FIT
1:1
100%

Артикул

Название

Примечание

Количество

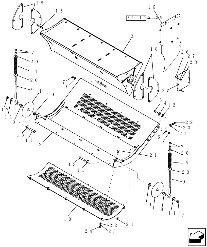
1

87105606

SHIELD

Cover

2шт.

2

87563854

PAN ASSY.

1шт.

3

87282088

BEATER

1шт.

4

86592701

WASHER,13mm ID x 35mm OD x 5mm Thk

2шт.

5

337563

BOLT,M12 x 1.75 x 47.68mm, Cl 10.9

2шт.

5

9824642

BOLT,M12 x 1.75 x 42.68mm, Cl 10.9

2шт.

6

140046

BELLEVILLE WASHER,M12 Bolt Size x 27mm OD x 1.8mm Thk

2шт.

7

9706685

NUT,M12 x 1.75, Cl 8

1шт.

8

86997586

BUSHING

2шт.

9

87591008

EYEBOLT

2шт.

10

87587528

BEATER

Concave

1шт.

11

86592702

WASHER,17mm ID x 45mm OD x 6mm Thk

4шт.

12

699963

SPACER

2шт.

13

86577946

BOLT,Hex, M16 x 80mm x 10.9

2шт.

14

87656535

COMPRESSION SPRING

2шт.

15

86997578

KEY,10mm W x 94.2mm OAL x 8mm Thk

1шт.

16

0C

ORDER COMPONENTS

Deflector, R.H. Rotor Discharge

1шт.

17

86512555

NUT,M16 x 2, Cl 10

2шт.

18

87283248

SEAL

4шт.

19

86511328

WASHER,25mm ID x 44mm OD x 4mm Thk

1шт.

20

9838302

WASHER,13.5mm ID x 45mm OD x 6mm Thk

4шт.

21

86512446

CARRIAGE BOLT,M10 x 1.5 x 30mm, Cl 8.8

10шт.

22

86592700

WASHER,10.5mm ID x 28mm OD x 4mm Thk

10шт.

23

140045

BELLEVILLE WASHER,M10 Bolt Size x 22mm OD x 1.6mm Thk

10шт.

24

100016

NUT,M10 x 1.5, Cl 8

10шт.

25

87727894

COVER PLATE

1шт.

26

86507486

CARRIAGE BOLT,M8 x 1.25 x 20mm, Cl 8.8

2шт.

27

322358

BELLEVILLE WASHER,M8 Bolt Size x 18mm OD x 1.4mm Thk

2шт.

28

9706690

NUT,M8 x 1.25, Cl 8

2шт.

Выбрано товаров: 29