Запчасти Case IH 7130 (55.100.54) - HARNESS, CAB (55) - ELECTRICAL SYSTEMS

Схема запчастей Case IH 7130 - (55.100.54) - HARNESS, CAB (55) - ELECTRICAL SYSTEMS
41
31
12
12
20
40
41
21
27
46
33
38
12
32
36
37
49
8
38
43
24
15
48
39
27
41
12
26
38
44
23
19
3
12
10
42
37
25
37
41
30
18
37
42
39
9
41
47
7
41
22
38
40
35
25
30
45
34
45
44
29
37
5
38
9
13
38
28
10
37
FIT
1:1
100%

Артикул

Название

Примечание

Количество

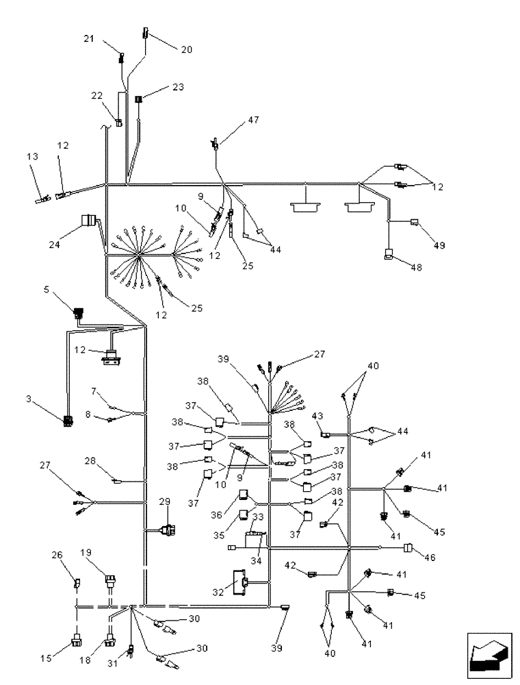
1

84206094

WIRE HARNESS

Cab, Incl 2 - 49, Serial Range: -Y9G001395

1шт.

2

NSS

NOT SOLD SEPARAT

CONNECTOR, 50-Pin, C003 Left Hand Harness, C024 Right Hand Harness

2шт.

3

NSS

NOT SOLD SEPARAT

CONNECTOR, 34-Pin, C001 Hydraulic Valve Block Harness, C013 Cab Harness, C004 Right Hand Cab Plate

3шт.

4

NSS

NOT SOLD SEPARAT

CONNECTOR, 14-Pin, C122 Left Hand Harness

1шт.

5

NSS

NOT SOLD SEPARAT

CONNECTOR, 34-Pin, C002 Front Harness, C010 Cab Harness, C023 Right Hand Harness

3шт.

6

872290R1

ELEC CONNECTOR,Male

2-Pin, C008 Pressurizer Motor

1шт.

7

225159C1

ELEC CONNECTOR

1-Pin, C009 Cigar Lighter, Auxiliary Power

2шт.

8

739065C1

CONNECTION,ELECTRIC

Cigar Lighter, Auxiliary Power

2шт.

9

245485C1

ELEC CONNECTOR,Male, 3 Pin

3-Pin, C012 Concave Clearance Request, C063, C075 CXCM Power

3шт.

10

A187874

MODULE

C012 Concave Clearance Request, C063, C075 CXCM Power

3шт.

11

NSS

NOT SOLD SEPARAT

CONNECTOR, 10-Pin, C011 Cab Harness

1шт.

12

245488C1

ELEC CONNECTOR,6 Pin

6-Pin, C022 Park Brake Solenoid, C025 Rotor/Fan Speed Request, C074 Remote Sieve, C126, C127

5шт.

13

131737A1

DIODE

C022 Park Brake Solenoid

1шт.

14

87419489

MULTIPOLE CONNECTOR,Female, 26 Pole

26-Pin, C021

1шт.

15

87419488

MULTIPOLE CONNECTOR,Female, 26 Pole

26-Pin, C020, C035

2шт.

16

87410947

MULTIPOLE CONNECTOR,Female, 34 Pole

34-Pin, C019

1шт.

17

87410946

MULTIPOLE CONNECTOR,Female, 34 Cavities

34-Pin, C018

1шт.

18

87410948

CONTACT HOUSING,Female, 26 Pole

26-Pin, C017, C034

2шт.

19

87410949

CONTACT HOUSING,Female, 26 Pole

26-Pin, C016, C033

2шт.

20

NSS

NOT SOLD SEPARAT

CONNECTOR, 14-Pin, C068 Steering Column

1шт.

21

NSS

NOT SOLD SEPARAT

CONNECTOR, 14-Pin, C067 Steering Column

1шт.

22

NSS

NOT SOLD SEPARAT

CONNECTOR, 3-Pin, C304 Steering Wheel Sensor

1шт.

23

NSS

NOT SOLD SEPARAT

CONNECTOR, 6-Pin, C076 Headlamp Dipping Relay

1шт.

24

NSS

NOT SOLD SEPARAT

CONNECTOR, 9-Pin, C029 Diagnostic

1шт.

25

127290A1

DIODE

C025 Rotor/Fan Speed Request, C074 Remote Sieve

2шт.

26

225316C1

ELEC CONNECTOR,Female, 2 Pin

2-Pin, C081 A-Post

1шт.

27

3208067R1

CONNECTION,ELECTRIC

Right Hand Dome Light, Left Hand Dome Light

2шт.

28

245442C1

CONNECTION,ELECTRIC

2-Pin, C032 Projection Light

1шт.

29

87410948

CONTACT HOUSING,Female, 26 Pole

13-Pin, C030 CODI

1шт.

30

NSS

NOT SOLD SEPARAT

CONNECTOR, 3-Pin, C014 Can 1 Passive Terminator, C077 Can 2 Passive Terminator

2шт.

31

245484C1

ELEC CONNECTOR,3 Pin

3-Pin, C082 Auxiliary Power

1шт.

32

198718A1

CONNECTOR, ELEC

CONNECTOR 32-Pin, C056 Automatic Temperture Control

1шт.

33

739070C1

CONNECTOR, ELEC

CONNECTOR C143, C053

2шт.

34

631801C1

CONNECTION

C144, C052

2шт.

35

292494A1

ELEC CONNECTOR

8-Pin, C048 Radio

1шт.

36

292495A1

ELEC CONNECTOR

8-Pin, C047 Radio

1шт.

37

NSS

NOT SOLD SEPARAT

CONNECTOR, 8-Pin, C044 Field Light Switch, C040 Beacon Switch, C015 Grain Tank Covers, C042 Hazard/Towing Switch, C046 Wiper/Washer Switch, C146 HID Light Switch

6шт.

38

225250C1

CONNECTOR,ELECTRIC

2-Pin, C043, C039, C054, C041,C045, C147

6шт.

39

195552A1

ELEC CONNECTOR,Female, 2 Pin

2-Pin, C036 LH Speaker, C057 RH Speaker

2шт.

40

282459A1

ELEC CONNECTOR,Female, 0.75 - 2 mm2

Front Beacon

4шт.

41

NSS

NOT SOLD SEPARAT

CONNECTOR, 2-Pin, C062 Right Hand Work Light, C061 Right Hand Center Work Light, C006 Right Hand Inner Work Light, C066 Left Hand Work Light, C065 Left Hand Center Work Light, C007 Left Hand Inner Work Light

6шт.

42

NSS

NOT SOLD SEPARAT

CONNECTOR, 2-Pin, C072 Left Hand Side Flood, C073 Right Hand Side Flood

2шт.

43

NSS

NOT SOLD SEPARAT

CONNECTOR, 2-Pin, C145 HID Distance Lights

1шт.

44

NSS

NOT SOLD SEPARAT

CONNECTOR, 2-Pin, Door Jamb Switch, 3rd Gear Lockout

4шт.

45

NSS

NOT SOLD SEPARAT

3-Pin, C064 HI/LO Beam Left Hand, C060 HI/LO Beam Right Hand

2шт.

46

225217C1

CONNECTOR, ELEC

CONNECTOR 4-Pin, C058 Deluxe Wiper Motor

1шт.

47

NSS

NOT SOLD SEPARAT

1-Pin, C375 Separator

1шт.

48

NSS

NOT SOLD SEPARAT

CONNECTOR, 10-Pin, C027 RS232 From Receiver

1шт.

49

NSS

NOT SOLD SEPARAT

CONNECTOR, 10-Pin, C026 RS232 To Display

1шт.

50

113699A1

RECTIFIER

Inline 12V 1A

1шт.

Выбрано товаров: 50