Запчасти Case IH 7140 (55.510.AF[09]) - FUSE BOX, CAB MAIN (55) - ELECTRICAL SYSTEMS

Схема запчастей Case IH 7140 - (55.510.AF[09]) - FUSE BOX, CAB MAIN (55) - ELECTRICAL SYSTEMS
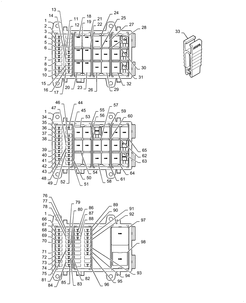
33
54
85
43
98
19
89
24
14
57
1
26
59
87
55
35
97
10
75
94
51
41
46
36
95
91
47
76
48
13
17
71
30
53
72
67
34
56
50
45
31
20
15
4
39
6
78
52
28
1
2
73
84
74
68
49
82
37
62
8
65
18
92
90
93
38
63
3
69
7
44
23
66
27
12
80
40
29
32
1
96
5
88
9
64
60
81
86
42
22
11
16
21
79
83
70
25
61
58
77
FIT
1:1
100%

Артикул

Название

Примечание

Количество

1

84147087

FUSE HOLDER

Frame

3шт.

2

84127705

FUSE,25A, Mini, White

F-001, Outer Roof Lights

1шт.

3

84127705

FUSE,25A, Mini, White

F-002, Mid Outer Roof Lights

1шт.

4

84127705

FUSE,25A, Mini, White

F-003, Inner Roof Lights

1шт.

5

84127705

FUSE,25A, Mini, White

F-004, Rotary Light Switch Power

1шт.

6

84127704

FUSE,20A, Mini, Yellow

F-005, Dome Light

1шт.

7

84127708

FUSE,30A, Mini, Green

F-006, Side/Exit Lights

1шт.

8

84127705

FUSE,25A, Mini, White

F-007, Light Control

1шт.

9

84127703

FUSE,15A, Mini, Blue

F-009, Radio Memory (B+)

1шт.

10

84127703

FUSE,15A, Mini, Blue

F-010, Aftercut/Grain Tank Lights

1шт.

11

84127702

FUSE,10A, Mini, Red

F-014, CUCM, Covers, Road, Beacon Switches

1шт.

12

84127702

FUSE,10A, Mini, Red

F-015, Washer Motor

1шт.

13

84127703

FUSE,15A, Mini, Blue

F-016, Wiper Motor

1шт.

14

84127708

FUSE,30A, Mini, Green

F-017, Roof Blower Motor

1шт.

15

84127702

FUSE,10A, Mini, Red

F-018, ACC, Switch B+ Radio

1шт.

16

84127702

FUSE,10A, Mini, Red

F-019, Headliner Aux Outlet

1шт.

17

84153830

FUSE,5A, Mini, Beige

F-020, A-Post Instrument Switches (B+)

1шт.

18

84543528

RELAY,12V, 20A, Micro

K-003, Side/Exit Lights

1шт.

19

84543528

RELAY,12V, 20A, Micro

K-004, Mid Outer Roof Lights

1шт.

20

84543528

RELAY,12V, 20A, Micro

K-005, Inner Roof Lights

1шт.

21

84543528

RELAY,12V, 20A, Micro

K-006, Light Control

1шт.

22

84543528

RELAY,12V, 20A, Micro

K-007, Road Lights

1шт.

23

84543528

RELAY,12V, 20A, Micro

K-008, Outer Roof Lights

1шт.

24

84543528

RELAY,12V, 20A, Micro

K-009, Unload Tube Light

1шт.

25

84543528

RELAY,12V, 20A, Micro

K-010, Road Field Lights

1шт.

27

84543528

RELAY,12V, 20A, Micro

K-012, Beacon Lights

1шт.

28

84543528

RELAY,12V, 20A, Micro

K-013, Brake Lights

1шт.

29

84543528

RELAY,12V, 20A, Micro

K-014, Rear Lights

1шт.

30

84543528

RELAY,12V, 20A, Micro

K-015, HVAC Compressor

1шт.

33

84199546

TOOL

Fuse Extractor

1шт.

34

84127704

FUSE,20A, Mini, Yellow

F-021, Service Lights, Separator On Switch (B+)

1шт.

35

84127704

FUSE,20A, Mini, Yellow

F-022, Air Seat Compressor (B+)

1шт.

36

84127708

FUSE,30A, Mini, Green

F-023, Beacon Lights

1шт.

37

84127704

FUSE,20A, Mini, Yellow

F-024, Rear Field, Unload Tube Lights

1шт.

38

84127702

FUSE,10A, Mini, Red

F-025, Brake Lights

1шт.

39

84127708

FUSE,30A, Mini, Green

F-026, Position, Tail, Backup Lights

1шт.

40

84127708

FUSE,30A, Mini, Green

F-027, B+ to Key Switch

1шт.

41

84127702

FUSE,10A, Mini, Red

F-028, Horn

1шт.

42

84127702

FUSE,10A, Mini, Red

F-029, Diagnostic Connector (B+)

1шт.

44

84127703

FUSE,15A, Mini, Blue

F-031, GPS, Moisture, Flow, Covers, Grain Tank Full, In Gear Sensors

1шт.

45

84127702

FUSE,10A, Mini, Red

F-033, Spare Switch (B+)

1шт.

46

84127703

FUSE,15A, Mini, Blue

F-034, HVAC Compressor

1шт.

47

84127702

FUSE,10A, Mini, Red

F-035, Switch (B+) Electronic Control Units

1шт.

48

84127703

FUSE,15A, Mini, Blue

F-036, RH Road Lights

1шт.

49

84127703

FUSE,15A, Mini, Blue

F-037, LH Road Lights

1шт.

50

84152583

FUSE,7.5A, Mini, Brown

F-038, Header, Unload and Right Hand Marker Lights

1шт.

51

84152583

FUSE,7.5A, Mini, Brown

F-039, Left Hand Marker and License Plate Lights

1шт.

52

84127702

FUSE,10A, Mini, Red

F-040, Radio and Switch Backlighting

1шт.

53

84543528

RELAY,12V, 20A, Micro

K-021, Concave Open

1шт.

54

84543528

RELAY,12V, 20A, Micro

K-022, Cleaning Fan Spead Increase

1шт.

55

84543528

RELAY,12V, 20A, Micro

K-024, Concave Close

1шт.

56

84543528

RELAY,12V, 20A, Micro

K-025, Cleaning Fan Speed Decrease

1шт.

57

84543528

RELAY,12V, 20A, Micro

K-028, Upper Sieve Open

1шт.

58

84543528

RELAY,12V, 20A, Micro

K-029, Upper Sieve Close

1шт.

59

84543528

RELAY,12V, 20A, Micro

K-030, Engine Run

1шт.

60

84543528

RELAY,12V, 20A, Micro

K-031, Lower Sieve Open

1шт.

61

84543528

RELAY,12V, 20A, Micro

K-032, Lower Sieve Close

1шт.

62

84543528

RELAY,12V, 20A, Micro

K-033, Swap #1

1шт.

63

84543528

RELAY,12V, 20A, Micro

K-034, Swap #2

1шт.

64

84543528

RELAY,12V, 20A, Micro

K-035, Service Lights, Separator On Switch (B+)

1шт.

65

84543528

RELAY,12V, 20A, Micro

K-036, Swap #3

1шт.

66

84127703

FUSE,15A, Mini, Blue

F-041, CUCM Warning Light Supply

1шт.

67

84127703

FUSE,15A, Mini, Blue

F-042, CUCM Warning Light Supply

1шт.

68

84127702

FUSE,10A, Mini, Red

F-043, CUCM Height/Tilt, Reel Up/Down

1шт.

69

84127708

FUSE,30A, Mini, Green

F-044, Spreader Position

1шт.

70

84127702

FUSE,10A, Mini, Red

F-045, CICM 12V Driver Supply

1шт.

71

84127703

FUSE,15A, Mini, Blue

F-046, Moisture Bypass Motor

1шт.

72

84127702

FUSE,10A, Mini, Red

F-047, CUCM Unload Auger, Swing

1шт.

73

84127702

FUSE,10A, Mini, Red

F-048, CUCM 2 Speed Hydro, PGA

1шт.

74

84127704

FUSE,20A, Mini, Yellow

F-049, 3rd Gear Lockout, Seat Switch

1шт.

75

84127702

FUSE,10A, Mini, Red

F-050, Separator, Feeder

1шт.

76

84127708

FUSE,30A, Mini, Green

F-051, Concave Open, Close

1шт.

77

84127708

FUSE,30A, Mini, Green

F-052, Cleaning Fan Increase, Decrease

1шт.

78

84127705

FUSE,25A, Mini, White

F-053, Swap #1, #2, #3

1шт.

79

84127704

FUSE,20A, Mini, Yellow

F-054, Fuel Pump

1шт.

80

84127703

FUSE,15A, Mini, Blue

F-055, Pressurizer Motor

1шт.

81

84127704

FUSE,20A, Mini, Yellow

F-056, LH Front Service Light

1шт.

82

84127703

FUSE,15A, Mini, Blue

F-057, Remote Sieve Adjust

1шт.

83

84127708

FUSE,30A, Mini, Green

F-058, Sieves

1шт.

84

84127705

FUSE,25A, Mini, White

F-059, B+ CUCM

1шт.

85

84127702

FUSE,10A, Mini, Red

F-060, B+ CICM, RHM, PRO700 Telematics

1шт.

86

84127702

FUSE,10A, Mini, Red

F-061, Key Switch Panel Aux Outlet

1шт.

87

84127703

FUSE,15A, Mini, Blue

F-062, Key Switch Panel Power Outlet

1шт.

88

84127702

FUSE,10A, Mini, Red

F-063, RHC Aux Outlet

1шт.

89

84127702

FUSE,10A, Mini, Red

F-071, LH Aux Outlet

1шт.

90

84127703

FUSE,15A, Mini, Blue

F-072, Aux Power Connector

1шт.

91

84127702

FUSE,10A, Mini, Red

F-073, B+ Seat Heater

1шт.

92

84127703

FUSE,15A, Mini, Blue

F-074, Turn Table, Edge Scanner

1шт.

93

84153830

FUSE,5A, Mini, Beige

F-075, Turn Signal/Stalk Switch

1шт.

94

84127702

FUSE,10A, Mini, Red

F-076, Left Side Knife (Optional)

1шт.

95

84127702

FUSE,10A, Mini, Red

F-077, Right Side Knife (Optional)

1шт.

96

84153830

FUSE,5A, Mini, Beige

F-080, Backup Alarm

1шт.

97

84337245

RELAY

K-001, Cab Power

1шт.

98

82013124

RELAY,12V, 30A

K-002, CUCM Power

1шт.

Выбрано товаров: 94