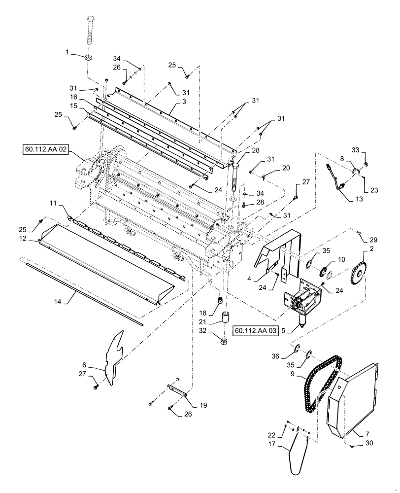
Запчасти Case IH 7140 (60.112.AA[01]) - ROCK GUARD (60) - PRODUCT FEEDING

Схема запчастей Case IH 7140 - (60.112.AA[01]) - ROCK GUARD (60) - PRODUCT FEEDING
34
18
29
23
31
12
4
33
19
13
35
1
31
11
25
31
24
22
28
60.112.aa 03
15
26
31
24
20
26
27
8
30
3
31
2
10
9
27
21
60.112.aa 02
34
17
35
6
32
7
28
5
24
14
31
25
16
36
25
FIT
1:1
100%

Артикул

Название

Примечание

Количество

1

86511329

WASHER,31mm ID x 56mm OD x 4mm Thk

2шт.

2

87674272

SPROCKET ASSY.,23T

Beater, 23 Tooth

1шт.

3

87577310

COVER

Beater Housing

1шт.

4

84128119

SHEET METAL

Backing, Beater

1шт.

5

87755505

SERVICE KIT

Beater Tensioner

1шт.

6

87755523

SHEET METAL

Inner Side, Left

1шт.

7

84128122

SHEET METAL

Outer Shield

1шт.

8

87674299

BRACKET

Feeder Speed Sensor Mount

1шт.

9

84413157

CHAIN (AG),RC80, 54 Links x 25.4mm = 1371.6mm

Beater Drive, RC80, 54 Pitch, O-Ring

1шт.

10

87557056

NOTCHED DISK

Feeder Speed Reluctor Wheel

1шт.

11

193611C2

HINGE

Feed Plate

1шт.

12

87602131

DOOR

Feeder, Rock Trap Dump

1шт.

13

245193C2

SENSOR

Feeder Speed

1шт.

14

175931C1

ROD

Hinge

1шт.

15

87720413

SUPPORT

Feeder Top Seal Support

1шт.

16

634248R2

SEAL,55mm W x 1175.96mm L

Upper Feeder, Rear

1шт.

17

132657A2

CABLE

Reverser Shield Tether

1шт.

18

86995153

HANDLE

Rubber Grip

1шт.

19

87709107

SPACER

Tensioner Mount

2шт.

20

516-23127

CLAMP,9/16", Insul, 3/8" Bolt

1шт.

21

87499320

SPACER,31.8mm ID x 50.8mm OD x 75mm L

Feeder Retainer

2шт.

22

87675531

FLANGE BOLT,M6 x 26.6mm, Cl 10.9

2шт.

23

87017606

SELF-TAP SCREW,Hex Flng, M6 x 1 x 20mm

2шт.

24

87698833

BOLT,M8 x 33.1mm, Cl 10.9

4шт.

25

87698836

BOLT,M10 x 25mm, Full Thd, Cl 10.9

24шт.

26

87698839

FLANGE BOLT,M10 x 40mm, Cl 10.9

14шт.

27

87695414

BOLT,M12 x 1.25 x 46.8mm, Cl 10.9

6шт.

28

87497922

BOLT,Hex, M30 x 260mm, Cl 10.9

M30 x 260mm, 10.9

2шт.

29

86633356

CARRIAGE BOLT,M10 x 34.8mm, Cl 8.8

1шт.

30

86050300

FLANGE NUT,M6 x 1.0, Cl 10

4шт.

31

86050279

FLANGE NUT,M10 x 1.5, Cl 10

36шт.

32

87752066

NUT

M30

2шт.

33

425-1512

JAM NUT,Jam, 3/4"-10, G5

1шт.

34

140045

BELLEVILLE WASHER,M10 Bolt Size x 22mm OD x 1.6mm Thk

24шт.

35

87690483

WASHER,2.03" ID x 2.75" OD x 0.12" Thk

2.75" OD x 2.031" ID x .12"

1шт.

36

87690482

WASHER,2.03" ID x 2.75" OD x 0.07" Thk

2.75" OD x 2.031" ID x .075"

1шт.

Выбрано товаров: 36