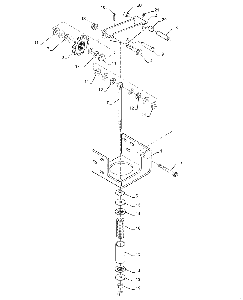
Запчасти Case IH 7140 (60.112.AA[03]) - IDLER ASSEMBLY, ROCK TRAP (60) - PRODUCT FEEDING

Схема запчастей Case IH 7140 - (60.112.AA[03]) - IDLER ASSEMBLY, ROCK TRAP (60) - PRODUCT FEEDING
20
14
11
19
15
3
11
9
8
12
17
14
20
5
18
1
7
13
10
12
11
13
21
11
17
2
6
4
16
FIT
1:1
100%

Артикул

Название

Примечание

Количество

1

87755510

SUPPORT ASSY.

Idler Arm

1шт.

2

87755503

ARM ASSY.

Idler Arm, Incl 20, 21

1шт.

3

87477658

SPROCKET

12 Tooth, 16mm Bore

1шт.

4

87646188

FLANGE BOLT,M16 x 95.4mm, Cl 10.9

1шт.

5

87698848

FLANGE BOLT,M12 x 120mm, Cl 10.9

1шт.

6

390870A1

PIVOT

Rock Trap Idler

1шт.

7

87578627

EYEBOLT

Idler Adjust

1шт.

8

87755999

BUSHING

Idler Pivot

1шт.

9

439-11048

HEADED PIN,5/8" x 3"

1шт.

10

87398

COTTER PIN,3/16" OD x 1-1/4" OAL

1шт.

11

496-41066

WASHER,5/8" ID x 1-1/2" OD x 3/16" Thk

7шт.

12

496-21066

WASHER,16.6mm ID x 33.5mm OD x 3.8mm Thk

3шт.

13

495-81030

WASHER,21/32" x 2" x .179"

2шт.

14

394120A1

SPRING WASHER

Feeder Idler Adjust

2шт.

15

390869A1

SPACER,40.96mm ID x 48.3mm OD x 105mm L

Adjusting Spring

1шт.

16

390872A1

SPRING

Compression

1шт.

17

496-11066

WASHER,21/32" x 1 5/16" x .095", HDN

4шт.

18

87016581

FLANGE NUT,M16 x 2, CI 10

1шт.

19

100020

NUT,M16 x 2.0, Cl 8

2шт.

20

1280291C1

BUSHING,19.13mm ID x 22.3mm OD x 19.05mm L

Idler Arm

2шт.

21

219-87

LUBE NIPPLE,1/4" - 28 NPTF

1шт.

Выбрано товаров: 21