Запчасти Case IH 7140 (60.112.AA[05]) - VAR - 425086, 425087, 425088, 425125, 425126 - ROCK GUARD, ASSY (60) - PRODUCT FEEDING

Схема запчастей Case IH 7140 - (60.112.AA[05]) - VAR - 425086, 425087, 425088, 425125, 425126 - ROCK GUARD, ASSY (60) - PRODUCT FEEDING
19
22
16
14
32
26
7
18
22
30
20
30
25
5
27
22
17
8
10
11
1
30
12
23
6
4
21
31
2
13
15
31
31
15
9
21
32
22
3
9
29
32
28
24
21
FIT
1:1
100%

Артикул

Название

Примечание

Количество

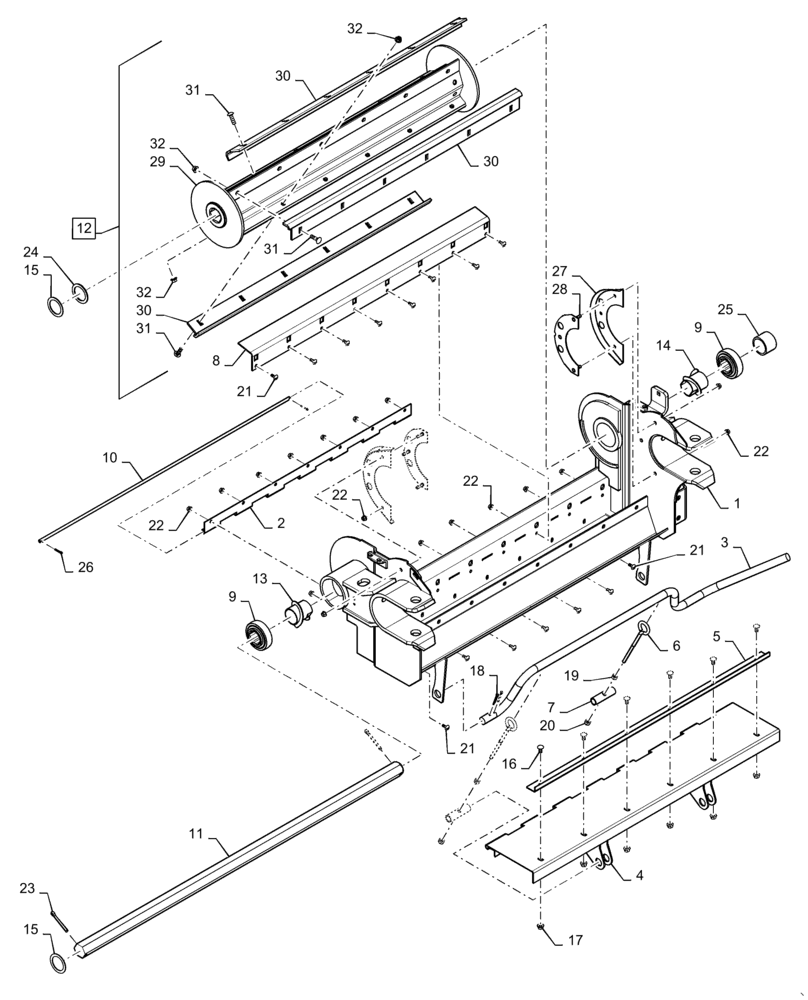
1

47473797

STONE TRAP

Housing

1шт.

2

87612181

HINGE

Rock Trap Door

1шт.

3

84353399

ROD

Door Latch

1шт.

4

47473821

DOOR

Rock Trap Sump

1шт.

5

87599255

ANGLE

Door Seal

1шт.

6

87573700

EYEBOLT

Handle Swivel

2шт.

7

87612311

TUBE,12.7-19.05 mm ID x 25.4 mm OD x 90 mm L

Sump Latch Pivot

2шт.

8

47473827

ANGLE

Wear Plate

1шт.

9

87620467

BALL BEARING,44.48mm Hex x 100mm OD x 42.86mm W

2шт.

10

84256524

ROD

Trap Door

1шт.

11

87755517

SHAFT

Hex, Rock Trap

1шт.

12

87644726

BEATER

Rock Trap, Incl 29 - 32

1шт.

13

87599206

SPACER

Spiral, RH

1шт.

14

87599214

SPACER

Spiral, LH

1шт.

15

87690482

WASHER,2.03" ID x 2.75" OD x 0.07" Thk

70mm OD x 51.6mm ID x 2mm L

1шт.

16

87573369

SERRATED SCREW,Sl Truss, M10 x 20mm, Cl 10.9

6шт.

17

825-51410

FLANGE NUT,M10, Flg Ser

6шт.

18

432-1224

COTTER PIN,3/16" x 1-1/2"

2шт.

19

100016

NUT,M10 x 1.5, Cl 8

2шт.

20

100037

LOCK NUT,M10 x 1.5, Cl 8

2шт.

21

847-3820

SERRATED SCREW,M8 x 20mm, Cl 10.9

15шт.

22

825-5148

SERRATED NUT,M8, Flg Ser

19шт.

23

432-2040

COTTER PIN,5/16" x 2 1/2"

2шт.

24

87690483

WASHER,2.03" ID x 2.75" OD x 0.12" Thk

70mm OD x 51.6mm ID x 3mm L

1шт.

25

87740715

SPACER

Sprocket, 63.5mm OD x 52.39mm ID x 45.3mm L

1шт.

26

80755

COTTER PIN,1/8" OD x 1" L

2шт.

27

84580668

SEAL

Feeder Pivot Mount

2шт.

28

84580662

PLATE

Seal Retainer

2шт.

29

87644725

BEATER

Rock Trap Without Blades

1шт.

30

1324437C1

EXTENSION

Blade

3шт.

31

87682393

CARRIAGE BOLT,M10 x 1.5 x 35mm, Cl 10.9

Carriage, M10 x 35mm OAL, Cl 10.9

18шт.

32

87547587

LOCK NUT,Hex, M10 x 1.5, Cl 10

18шт.

Выбрано товаров: 32