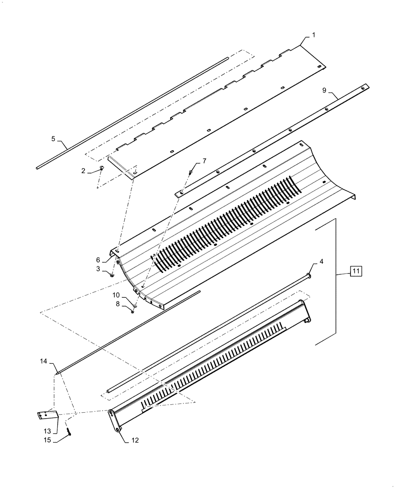
Запчасти Case IH 7140 (73.230.AP[02]) - FLAIL STRAW CHOPPER CONCAVE (73) - RESIDUE HANDLING

Схема запчастей Case IH 7140 - (73.230.AP[02]) - FLAIL STRAW CHOPPER CONCAVE (73) - RESIDUE HANDLING
15
12
5
3
11
6
10
9
4
13
2
14
1
8
7
FIT
1:1
100%

Артикул

Название

Примечание

Количество

1

1347207C1

DOOR

Chopper Bottom Top Plate

1шт.

2

87573369

SERRATED SCREW,Sl Truss, M10 x 20mm, Cl 10.9

6шт.

3

825-51410

FLANGE NUT,M10, Flg Ser

6шт.

4

140521A1

ROD

Fixed Knife Bar

1шт.

5

182980C1

ROD,11.11mm OD x 1556mm L

Top Plate Hinge

1шт.

6

87585116

CONCAVE

Chopper Bottom

1шт.

7

906035R1

HEX SOC SCREW,Flat Hd, CSK, M8 x 25mm, Cl 10.9

6шт.

8

86629542

NUT,M8 x 1.25, Cl 8.8

6шт.

9

87585123

STRIPPER

Shread Bar

1шт.

10

86639316

WASHER,8.4mm ID x 20mm OD x 2mm Thk

6шт.

11

140961A1

SUPPORT

Fixed Knife Bar, Incl 12 - 15

1шт.

12

140975A1

BAR ASSY.

Knife

1шт.

13

1322233C2

KNIFE,168.5mm L x 40mm W x 3mm Thk

Counter, Fixed

47шт.

14

1311905C1

ROD

Knife Lock

1шт.

15

1322252C1

HAIR PIN COTTER

Knife Bar

1шт.

Выбрано товаров: 15