Запчасти Case IH 7140 (90.118.AC[02]) - PLATFORM, FRONT, LH (90) - PLATFORM, CAB, BODYWORK AND DECALS

Схема запчастей Case IH 7140 - (90.118.AC[02]) - PLATFORM, FRONT, LH (90) - PLATFORM, CAB, BODYWORK AND DECALS
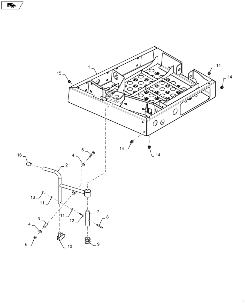
2
4
4
15
5
11
1
6
14
9
14
8
3
10
14
13
12
14
7
11
16
FIT
1:1
100%

Артикул

Название

Примечание

Количество

1

47403240

PLATFORM

Operators LH

1шт.

2

84543670

HANDLE

Ladder Pivot

1шт.

3

87108760

BUSHING,10.4mm ID x 14.4mm OD x 34mm OAL

Spacer

1шт.

4

86511323

WASHER,10.5mm ID x 20mm OD x 2mm Thk

2шт.

5

412151

BOLT,M10 x 1.5 x 61.58mm, Cl 8.8

1шт.

6

100016

NUT,M10 x 1.5, Cl 8

1шт.

7

87106596

PIN,25.4mm OD x 114mm OAL

Ladder Pivot Handle Locating

1шт.

8

87020818

LOCK PIN,1/4" OD x 2" OAL, Slotted

1шт.

9

87109472

SPRING,40.49mm Free Length

Ladder Position Pin

1шт.

10

87548607

PEDAL

Ladder Foot Release

1шт.

11

86588450

WASHER,6.6mm ID x 12mm OD x 1.6mm Thk

2шт.

12

43117

SCREW,Hex, M6 x 1.0 x 30mm, Cl 8.8

1шт.

13

86500688

NUT,Hex, M6 x 1.0, Cl 10.9

1шт.

14

86610198

INSERT,M6 x 1

Nut, M6

9шт.

15

87284531

NUT,Rivnut, M8 x 1.25, 0.5mm - 3mm Grip Range

Rivet, M8

2шт.

16

87109878

CAP,17.5mm ID x 25.4mm OAL

Handle End Cap

1шт.

Выбрано товаров: 16