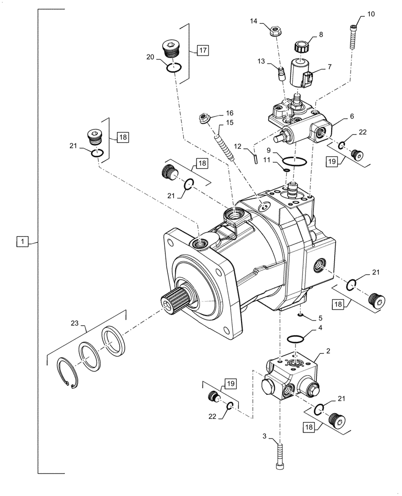
Запчасти Case IH 7140 (29.218.AH[03]) - VAR - 425442, 425443 - HYDROSTATIC MOTOR, VARIABLE SPEED, 150CC TO 0CC (29) - HYDROSTATIC DRIVE

Схема запчастей Case IH 7140 - (29.218.AH[03]) - VAR - 425442, 425443 - HYDROSTATIC MOTOR, VARIABLE SPEED, 150CC TO 0CC (29) - HYDROSTATIC DRIVE
7
18
20
21
18
12
18
18
15
9
10
2
21
5
22
23
14
16
8
1
6
4
3
13
19
17
11
22
19
21
21
FIT
1:1
100%

Артикул

Название

Примечание

Количество

1

47649245

HYDROSTATIC MOTOR

Variable Speed, Incl 2 - 23

1шт.

2

47838475

VALVE

Flushing W/ Orifice

1шт.

3

84265310

SCREW,M12 x 70mm, Cl 12.9

4шт.

4

47854798

O-RING

Flushing Valve

1шт.

5

47854797

O-RING

Valve Screw

4шт.

6

47838476

VALVE

Motor Control

1шт.

7

84389760

COIL

Proportional Solenoid

1шт.

8

47847117

NUT

Solenoid

1шт.

9

47854777

O-RING

Motor Control Valve

1шт.

10

47854744

SCREW

Motor Control Valve

4шт.

11

238-8011

O-RING,0.07" Thk x 0.301" ID, -11, Cl 8, 90 Duro

2шт.

12

84228091

PIN

Control Valve

1шт.

13

47849434

PIN

Threaded

1шт.

14

87441441

LOCK NUT

Seal

1шт.

15

47849444

SET SCREW

M12 x 80mm

1шт.

16

87441442

LOCK NUT

Seal

1шт.

17

86598048

PLUG,Hex Soc, M27 x 2, ORB

Incl 20

1шт.

18

86598047

PLUG,Hex Soc, M22 x 1.5, ORB

Incl 21

4шт.

19

86598044

PLUG,Hex, M14 x 1.5 ORB

Incl 22

2шт.

20

86598103

O-RING,2.9mm Thk x 23.6mm ID, Cl 6, 90 Duro

1шт.

21

86598102

O-RING,2.2mm Thk x 19.3mm ID, Cl 6, 90 Duro

4шт.

22

86598099

O-RING,2.2mm Thk x 11.3mm ID, Cl 6

2шт.

23

47838474

SEAL KIT

Motor Shaft

1шт.

Выбрано товаров: 23