Запчасти Case IH 7140 (33.110.AT[02]) - PARKING BRAKE/FEEDER CLUTCH VALVE (33) - BRAKES & CONTROLS

Схема запчастей Case IH 7140 - (33.110.AT[02]) - PARKING BRAKE/FEEDER CLUTCH VALVE (33) - BRAKES & CONTROLS
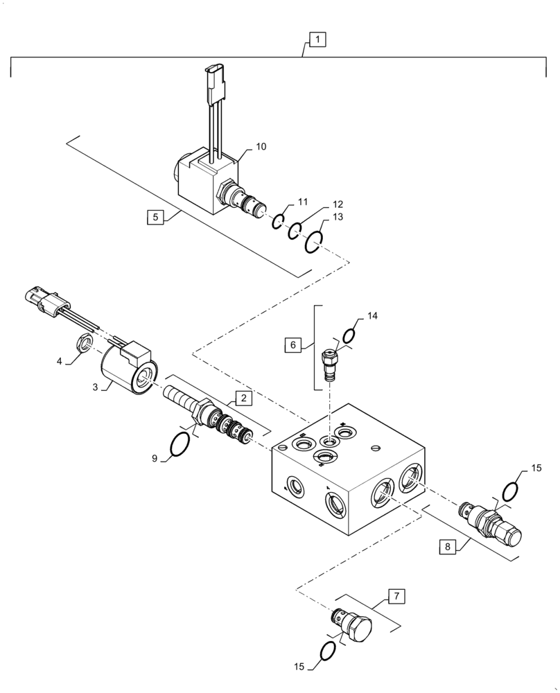
12
2
6
15
13
3
15
10
11
1
8
7
5
14
9
4
FIT
1:1
100%

Артикул

Название

Примечание

Количество

1

129010A4

CONTROL VALVE

Park Brake/Feeder Clutch, Incl 2 - 15

1шт.

2

187849C1

SOLENOID VALVE

12V, Incl 9

1шт.

3

1340843C1

SOLENOID,12V

Coil

1шт.

4

195683A1

JAM NUT,1/2"-20

1шт.

5

1986618C1

SOLENOID

Valve, Incl 10 - 13

1шт.

6

190704A1

CHECK VALVE

Incl 14

1шт.

7

190705A1

VALVE POPPET,7/8" - 14

Check, Incl 15

1шт.

8

190706A2

CHECK VALVE

Relief, Incl 15

1шт.

9

187850C1

SEAL KIT

Solenoid Valve

1шт.

10

190703A1

SOLENOID

Coil, Park Brake Valve, 12V

1шт.

11

167269

O-RING,0.097" Thk x 0.755" ID, -910, Cl 6, 90 Duro

1шт.

12

238-5015

O-RING,0.07" Thk x 0.551" ID, -15, Cl 5, 75 Duro

1шт.

13

130282

O-RING,0.07" Thk x 0.489" ID, -14, Cl 5, 75 Duro

1шт.

14

190707A1

SEAL KIT

Check Valve

1шт.

15

149942C1

SEAL KIT

Relief Valve

2шт.

Выбрано товаров: 15