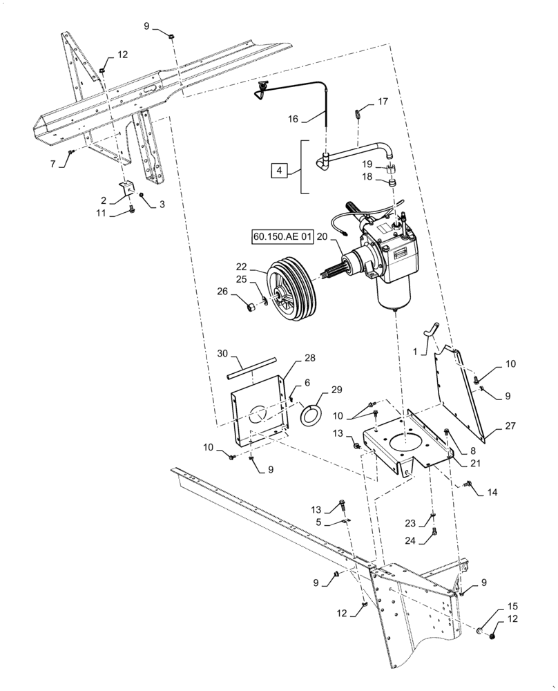
Запчасти Case IH 7140 (60.150.AU[01]) - FEEDER DRIVE GEARBOX MOUNTING, STANDARD (60) - PRODUCT FEEDING

Схема запчастей Case IH 7140 - (60.150.AU[01]) - FEEDER DRIVE GEARBOX MOUNTING, STANDARD (60) - PRODUCT FEEDING
3
21
27
9
23
4
18
19
60.150.ae 01
30
10
13
29
10
12
9
17
24
22
1
15
28
10
9
11
2
12
13
8
14
16
9
7
20
12
26
9
25
5
6
FIT
1:1
100%

Артикул

Название

Примечание

Количество

1

87579999

SEAL

Gearbox Support, 190mm

1шт.

2

87742027

BRACKET

Lube Hose

1шт.

3

76085536

NUT,1/8-27 NPSM

1шт.

4

87579601

HYD TUBE,1" OD

Feeder Gearbox Oil Fill, Incl 18, 19

1шт.

5

935915R1

SHIM,33.02mm OD x 0.38mm Thk

Bell Housing Support, RH

2шт.

6

86625074

SPRING NUT,Multi-Thd, M8 x 1.25

3шт.

7

87656137

BOLT,Flange Hex, M8 x 20mm, Cl 10.9

2шт.

8

87698836

BOLT,M10 x 25mm, Full Thd, Cl 10.9

2шт.

9

86050279

FLANGE NUT,M10 x 1.5, Cl 10

16шт.

10

87698835

FLANGE BOLT,M10 x 20mm, Full Thd, Cl 10.9

10шт.

11

87343550

FLANGE BOLT,Hex, M12 x 25mm

1шт.

12

86512497

FLANGE NUT,M12 x 1.75, Cl 10

4шт.

13

87695413

BOLT,M12 x 51.8mm, Cl 10.9

3шт.

14

87698837

FLANGE BOLT,M10 x 30mm, Full Thd, Cl 10.9

4шт.

15

86625256

WASHER,13.3mm ID x 28.5mm OD x 4mm Thk

1шт.

16

87632904

DIPSTICK

Oil Level

1шт.

17

86566989

CABLE TIE,208mm L

1шт.

18

218-368

SLEEVE,37 Degree, 1" Tube

1шт.

19

86513086

TUBE NUT,1-5/16"-12, 37 Degree Fl, Type B

1шт.

20

393577A2

GEARBOX

Feeder Drive

1шт.

21

87652873

SUPPORT ASSY.

Forward Gearcase, Lower

1шт.

22

47743705

PULLEY

Forward Drive, 14T

1шт.

23

80679

LOCK WASHER,1/20.507 CST ZND

4шт.

24

87909

BOLT,Hex, 1/2" - 13 x 1", Gr 5

4шт.

25

87613300

WASHER,0.94" ID x 1.75" OD x 0.18" Thk

1шт.

26

87301257

NUT,7/8"-14, GC

1шт.

27

84580314

PANEL

Forward Gearbox, Inner

1шт.

28

87575615

SUPPORT ASSY.

Forward Gearbox, Rear

1шт.

29

191496C1

SEALING STRIP

Gearbox Support, 300mm

1шт.

30

191497C1

SEALING STRIP

Gearbox Support, 270mm

1шт.

Выбрано товаров: 30