Запчасти Case IH 7140 (74.101.BF[01]) - CLEANING SYSTEM PITMAN ARM, RH (74) - CLEANING

Схема запчастей Case IH 7140 - (74.101.BF[01]) - CLEANING SYSTEM PITMAN ARM, RH (74) - CLEANING
8
2
1
4
5
9
8
3
7
6
FIT
1:1
100%

Артикул

Название

Примечание

Количество

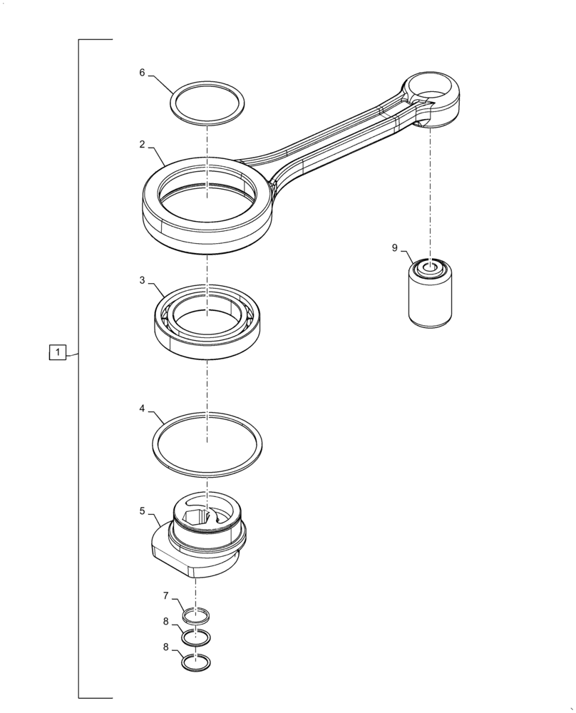
1

87672051

ARM ASSY.

Pitman, RH, Incl 2 - 9

1шт.

2

1979369C2

ARM

Pitman, Shaker Shaft

1шт.

3

1345226C1

BALL BEARING,80mm ID x 125mm OD x 22mm W

1шт.

4

1322624C1

SNAP RING

Retaining

1шт.

5

87318100

CAM,Shaker Shaft Pitman Drive, RH Plated

Prior to MY16

1шт.

5

47900948

CAM

After MY16

1шт.

6

1979190C1

RETAINER

Ring

1шт.

7

1979191C1

WASHER,27mm ID x 31.65mm OD x 3mm Thk

1шт.

8

1322623C1

RETAINER

Ring

2шт.

9

87376924

BUSHING,16mm ID x 50.8mm OD x 76.2mm L

Shaker Pitman

1шт.

Выбрано товаров: 10