Запчасти Case IH 7230 (39.100.AB) - FRAME, LEVELING DEVICE (39) - FRAMES AND BALLASTING

Схема запчастей Case IH 7230 - (39.100.AB) - FRAME, LEVELING DEVICE (39) - FRAMES AND BALLASTING
34
1
4
37
25
29
34
26
23
2
38
17
21
7
20
29
11
17
32
33
18
5
17
21
28
31
3
15
16
10
15
27
20
14
30
19
17
16
36
6
17
35
22
12
24
31
26
27
9
13
39
8
FIT
1:1
100%

Артикул

Название

Примечание

Количество

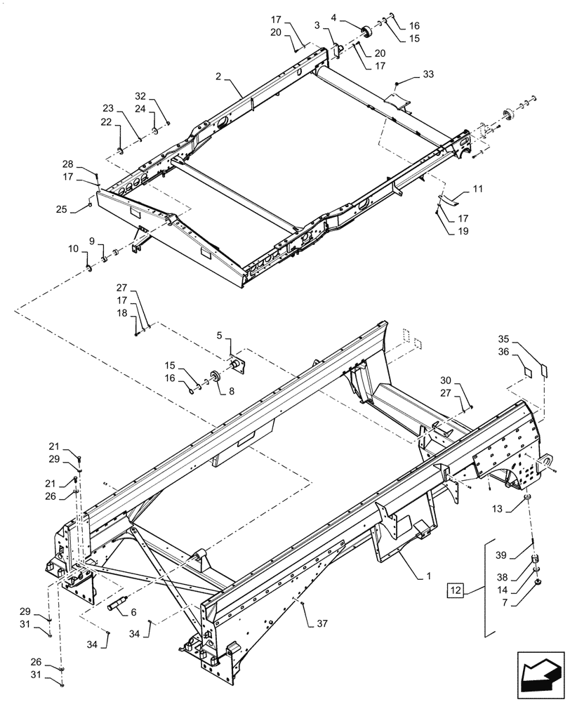
1

47420248

FRAME

Lower Main

1шт.

2

84330828

FRAME

Self - Leveling

1шт.

3

48033486

HINGE

Bearing Mount

2шт.

4

434817

ROLLER,90mm OD x 35mm L

2шт.

5

87280355

SUPPORT

Lower Frame Pivot

1шт.

6

9831928

SHAFT,M16

Front Pivot Pin

1шт.

7

190029

STOP,M10 x 1.0 x 20mm OD, Rubber

2шт.

8

210049

BALL BEARING,40mm ID x 90mm OD x 23mm W

3шт.

9

429232

BUSHING,40mm ID x 44mm OD x 20mm L

2шт.

10

140061

WASHER,M41 x 60mm OD

1шт.

11

84457842

WEAR PLATE

1шт.

12

47501720

STOP

Oscillation Incl 4, 7, 14, 38

2шт.

13

87107893

SPACER

Axle Stop

2шт.

14

47501731

SPACER

Oscillation Stop

2шт.

15

442203

WASHER,41mm ID x 50mm OD x 0.91mm Thk

6шт.

16

370006

SNAP RING,M40, Ext

3шт.

17

140045

BELLEVILLE WASHER,M10 Bolt Size x 22mm OD x 1.6mm Thk

12шт.

18

87032337

BOLT,Hex, M10 x 40mm, Cl 10.9

4шт.

19

43140

BOLT,Hex, M10 x 1.5 x 30mm, Cl 8.8

2шт.

20

43139

BOLT,M10 x 1.5 x 25mm, Cl 8.8

4шт.

21

43168

BOLT,Hex, M16 x 40mm, Cl 8.8

4шт.

22

9508900

WASHER,41mm ID x 60mm OD x 3mm Thk

1шт.

23

9513615

WASHER,16.5mm ID x 34mm OD x 0.5mm Thk

1шт.

24

84007183

WASHER,16.5mm ID x 58mm OD x 6mm Thk

1шт.

25

137938

SPACER

10.3mm ID x 19.05mm OD x 24.6mm OAL

2шт.

26

86589278

BELLEVILLE WASHER,17mm ID x 41.5mm OD x 4.5mm Thk

4шт.

27

394629

WASHER,10.5mm ID x 24mm OD x 3mm Thk

6шт.

28

120068

BOLT,Hex, M10 x 40mm, Cl 8.8

2шт.

29

394629

WASHER,10.5mm ID x 24mm OD x 3mm Thk

4шт.

30

86981462

FLANGE NUT,M10 x 1.5, Cl 10

2шт.

31

100020

NUT,M16 x 2.0, Cl 8

4шт.

32

86000441

NUT,M16 x 2.0, Cl 8

1шт.

33

100037

LOCK NUT,M10 x 1.5, Cl 8

2шт.

34

84578718

RIVET,Flng, 9mm OD x 18mm L

8шт.

35

84100296

DECAL

Tie Down

2шт.

36

449973

DECAL

Tow Hook

2шт.

37

87556072

NUT,Flng, 11.8mm OD x 19.8mm L

17шт.

38

47501723

SPACER

Oscillation Stop

2шт.

Выбрано товаров: 38