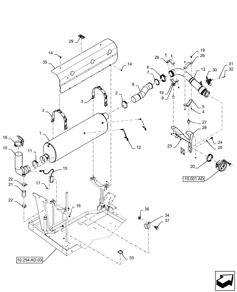
Запчасти Case IH 7230 (10.254.AD[02]) - EXHAUST/MUFFLER 7230 T4 (10) - ENGINE

Схема запчастей Case IH 7230 - (10.254.AD[02]) - EXHAUST/MUFFLER 7230 T4 (10) - ENGINE
10.254.ad 03
21
29
3
34
22
24
26
37
10
14
30
22
23
19
1
13
11
26
20
32
18
28
16
27
9
14
6
17
2
12
33
15
35
36
25
3
8
4
19
31
7
5
10.001.ad
FIT
1:1
100%

Артикул

Название

Примечание

Количество

1

84248987

MUFFLER

SCR, Tier 4

1шт.

2

87494547

COLLAR CLAMP

Exhaust Tube To Muffler Inlet

1шт.

3

84328843

SECURING STRAP

Over Muffler

2шт.

4

87682384

CARRIAGE BOLT,M8 x 1.25 x 25mm, Cl 10.9

4шт.

5

84579770

PIPE CLAMP

Mid-Pipe

1шт.

6

84356331

CLAMP,118mm OD x 26mm W

Exhaust, Sealing

1шт.

7

84349222

GASKET,1.3mm Thk

4", Exhaust

1шт.

8

84526715

EXHAUST SYSTEM PIPE

Mid-Pipe to Muffler

1шт.

9

84579769

SUPPORT

Exhaust

1шт.

10

84273600

TUBE

Elbow, Outlet

1шт.

11

84193757

CLAMP,122mm - 130mm, Band

Exhaust Outlet, Band

1шт.

12

87482353

SENSOR

Exhaust Temperature

2шт.

13

84526713

EXHAUST SYSTEM PIPE

Mid Pipe, From Turbo

1шт.

14

844-8016

BOLT,Hex, M8 x 16mm, Cl 8.8

6шт.

15

84422745

SENSOR

NOx

1шт.

16

87695418

FLANGE BOLT,M6 x 1.0 x 16mm, Cl 10.9

2шт.

17

86050300

FLANGE NUT,M6 x 1.0, Cl 10

2шт.

18

86997809

COVER

Rain Cap

1шт.

19

86507066

FLANGE NUT,M8 x 1.25, Cl 10

9шт.

20

87639007

CLAMP

Sealing, To Turbo

1шт.

21

87402766

HOSE

2" Exhaust Scavenge

1шт.

22

86625019

HOSE CLAMP,44mm - 67mm

2шт.

23

87030775

BOLT,M8 x 38.1mm, Cl 10.9

1шт.

24

43167

BOLT,Hex, M16 x 30mm, Cl 8.8, Full Thd

2шт.

25

140020

WASHER,17.5mm ID x 30mm OD x 3mm Thk

2шт.

26

84579767

CLAMP

Mid Pipe

2шт.

27

393802

DAMPER,40mm OD x 80mm L

Rubber

2шт.

28

47394153

SUPPORT

Y Bracket

1шт.

29

84004742

DECAL

Hot Surface

1шт.

30

84247021

MODULE,Dosing Injector

1шт.

31

86588450

WASHER,6.6mm ID x 12mm OD x 1.6mm Thk

3шт.

32

14305821

HEX SOC SCREW,M6 x 40mm, Cl 8.8

3шт.

33

86566989

CABLE TIE,208mm L

1шт.

34

9839372

CLAMP,11.1mm, Coat, 10.3mm Bolt Hole, P Type

P Type

1шт.

35

84526716

PLATE

Heat Shield

1шт.

36

86050279

FLANGE NUT,M10 x 1.5, Cl 10

1шт.

37

87698835

FLANGE BOLT,M10 x 20mm, Full Thd, Cl 10.9

1шт.

Выбрано товаров: 37