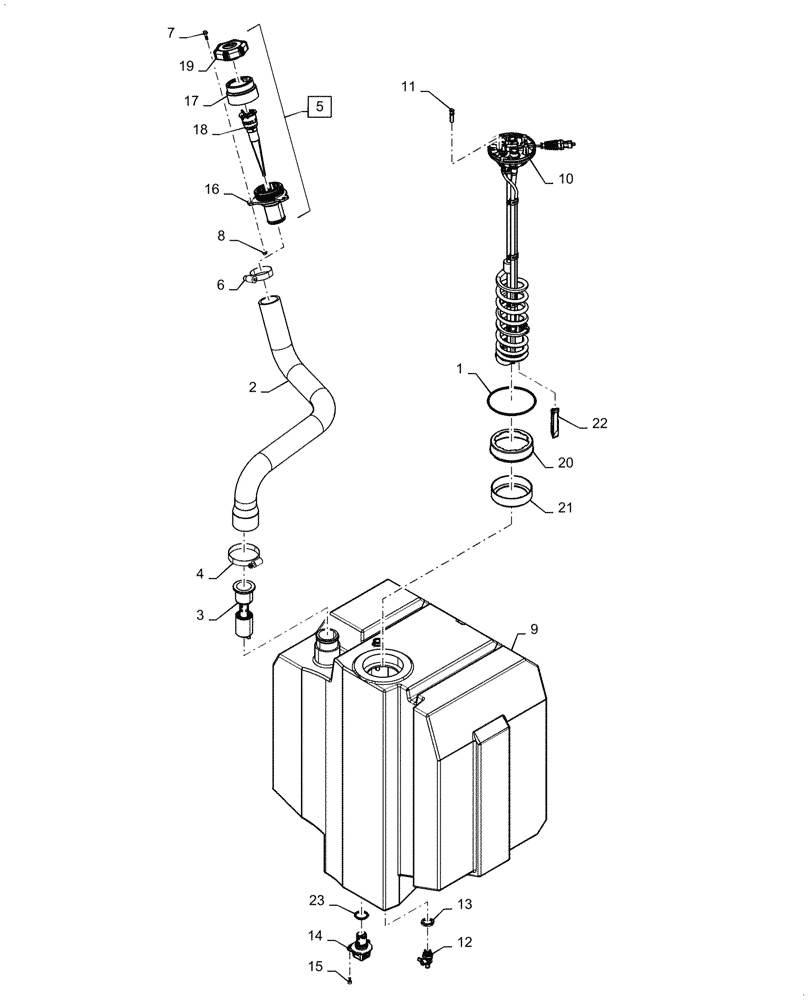
Запчасти Case IH 7240 (10.500.AA) - DEF/ADBLUE™ TANK (10) - ENGINE

Схема запчастей Case IH 7240 - (10.500.AA) - DEF/ADBLUE™ TANK (10) - ENGINE
3
2
20
23
14
7
19
9
22
11
12
15
8
18
13
6
5
4
16
17
1
10
21
FIT
1:1
100%

Артикул

Название

Примечание

Количество

1

47994697

O-RING

Sender Head Unit

1шт.

2

47707239

HOSE

Tank Filler

1шт.

3

47799504

NOZZLE

Tank Inlet

1шт.

4

86625032

HOSE CLAMP,88.9mm ID - 65mm ID

1шт.

5

47661360

NECK FILLER

Remote, Incl 16 -19

1шт.

6

86624194

HOSE CLAMP,1.81” - 2.75”, Worm Gear

1шт.

7

87675531

FLANGE BOLT,M6 x 26.6mm, Cl 10.9

3шт.

8

87301498

FLANGE NUT,Hex, M6 x 1.0, Cl 10

3шт.

9

47371010

EXHAUST FLUID TANK

DEF/Adblue™

1шт.

10

47958301

SENDER UNIT

Level W/Filter

1шт.

11

84208502

PLUG,10mm OD x 42.4mm L

1шт.

12

47914910

DRAINCOCK/TAP SUPPLY

Tank Drain

1шт.

13

47371517

NUT,Hex, 1-1/8"-12

1шт.

14

47520143

SENSOR

Urea Quality, 12V

1шт.

15

47372452

HEX SOC SCREW,M6 x 1.0 x 14mm

3шт.

16

47381867

ADAPTER

Neck Filler Holder

1шт.

17

84236736

NECK FILLER

DEF/Adblue™ Tank

1шт.

18

47657024

FILTER, DEF

Filler Neck

1шт.

19

84206552

FILLER CAP,Male

Urea Tank

1шт.

20

84180429

BUSHING,96mm ID x 129mm OD x 32.5mm L

Sender Outer Ring

1шт.

21

84180430

BUSHING

Sender Inner Ring

1шт.

22

47752169

FILTER, DEF

40 Micron

1шт.

23

84595755

O-RING,0.210" Thk x 1-1/16" ID, Cl 5, 75 Buna

Urea Quality Sensor

1шт.

Выбрано товаров: 23