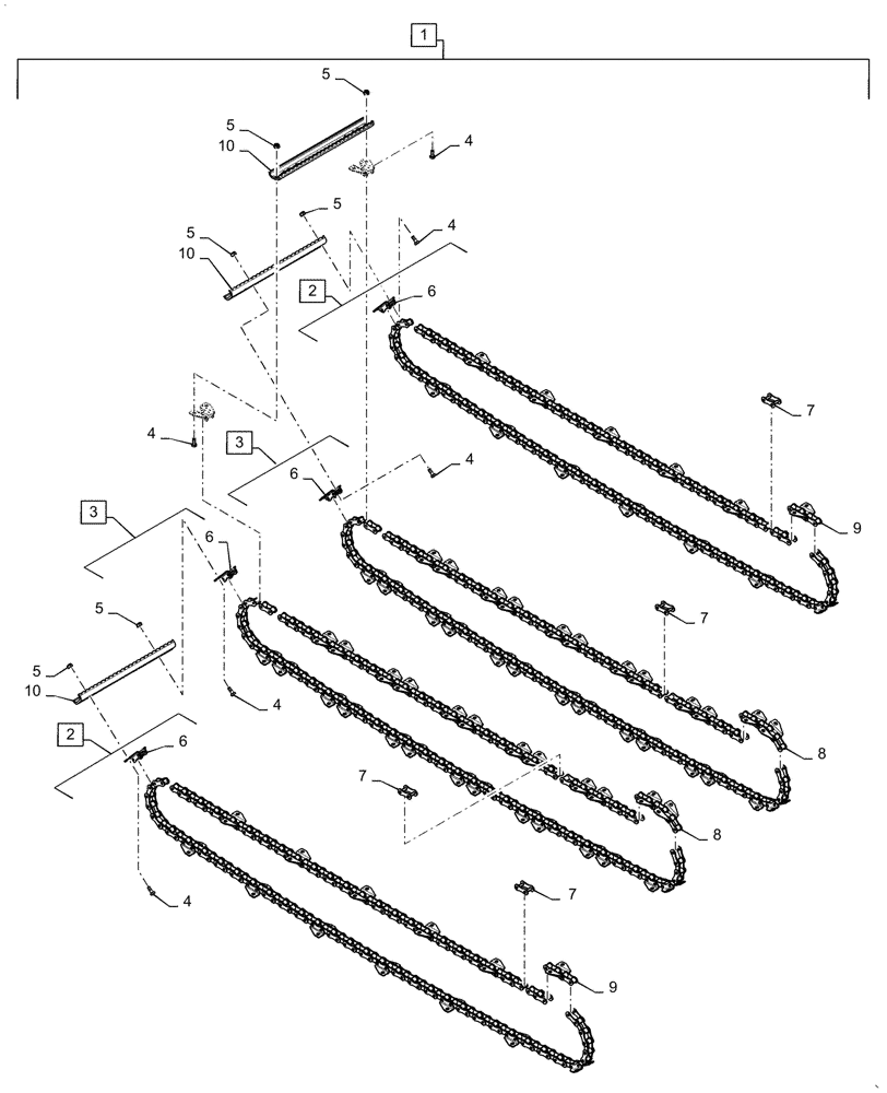
Запчасти Case IH 7240 (60.105.AB[01]) - VAR - 722742, 425546, 425224, 425548 - CHAIN, FEEDER (60) - PRODUCT FEEDING

Схема запчастей Case IH 7240 - (60.105.AB[01]) - VAR - 722742, 425546, 425224, 425548 - CHAIN, FEEDER (60) - PRODUCT FEEDING
4
4
7
7
5
2
3
4
6
10
8
10
2
4
10
5
9
6
5
5
6
1
4
5
4
7
8
5
3
7
6
9
FIT
1:1
100%

Артикул

Название

Примечание

Количество

1

84179642

CHAIN,Feeder, 113 Links x 41.4mm = 4678.2mm

Non Rock Trap, Incl 2 - 10

1шт.

2

84217947

CHAIN (AG),CA557, 113 Links x 41.4mm = 4678.2mm

Outer, Incl 6 - 7, 9

2шт.

3

84217945

CHAIN (AG),CA557, 113 Links x 41.4mm = 4678.2mm

Inner, Incl 6 - 8

2шт.

4

9846677

BOLT,M10 x 1.5 x 25mm, Cl 10.9

168шт.

5

84207195

NUT,M10 x 1.5

168шт.

6

87283352

CONNECTING LINK

Slat Mount

14шт.

7

84257096

LINK,41.4mm Pitch, Threaded Pin

Chain Master Link

4шт.

8

87736384

LINK,Chain, 3 Links x 41.4mm = 124.2mm

5 Link, Services 3

1шт.

9

87283373

LINK,Chain, 3 Links x 41.4mm = 124.2mm

3 Link, Services 2

1шт.

10

84179662

SLAT

Serrated

42шт.

Выбрано товаров: 10