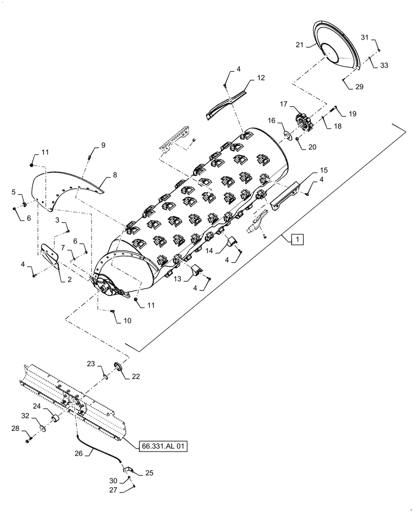
Запчасти Case IH 7240 (66.331.AK[05]) - VAR - 425293 - THRESHING CYLINDER, ROTOR (66) - THRESHING

Схема запчастей Case IH 7240 - (66.331.AK[05]) - VAR - 425293 - THRESHING CYLINDER, ROTOR (66) - THRESHING
66.331.al 01
10
4
11
3
13
18
23
9
4
1
14
15
11
20
31
22
26
28
27
24
4
7
17
6
32
30
16
4
19
29
4
21
12
33
5
8
2
6
25
FIT
1:1
100%

Артикул

Название

Примечание

Количество

1

47825940

ROTOR

Large Tube, 76 Element, Grain, ABR W/ Separator Bars, Incl 2 - 20

1шт.

2

47802681

PLATE

Wear

2шт.

3

87314103

PLOW BOLT,M12 x 1.75 x 40mm, Cl 10.9

4шт.

4

86981487

BOLT,Flange, M12 x 35mm, Full, Cl 10.9 DOR

78шт.

5

87315598

SHIELD

Nut

4шт.

6

412672

NUT,Hex, M12 x 1.75, Cl 10

6шт.

7

86625255

WASHER,13.3mm ID x 24.5mm OD x 3mm Thk

2шт.

8

47825316

AUGER FLIGHT

Hardened

2шт.

9

87394282

PLOW BOLT,M16 x 55mm, Cl 10.9

14шт.

10

9843611

BOLT,Hex, M16 x 2.0 x 55mm, Cl 10.9

2шт.

11

86512380

FLANGE NUT,M16

16шт.

12

86992048

BAR

Helical Kicker

2шт.

13

278821A3

RASP BAR

W/O Spike, Extended Wear

56шт.

14

278820A5

RASP BAR

W/ Spike, Extended Wear

8шт.

15

86992047

BAR

Straight Separator

4шт.

16

87697368

PLASTIC PLUG

Dust Cover

1шт.

17

84222993

SPLINED COUPLING,12T

Rotor Drive

1шт.

18

86625266

WASHER,17.5mm ID x 30mm OD x 4mm Thk

8шт.

19

86577946

BOLT,Hex, M16 x 80mm x 10.9

8шт.

20

86512380

FLANGE NUT,M16

8шт.

21

87744743

COVER ASSY

Cone

1шт.

22

87323577

RING

Reluctor Wheel, Rotor Speed

1шт.

23

87284474

SHIM,51.18mm ID x 59.7mm OD x 1mm Thk

1шт.

24

87281633

SPACER,50.88mm ID x 66.68mm OD x 44mm L

1шт.

25

87107260

SUPPORT

Lube Hose

1шт.

26

87107259

HOSE,3.02mm ID x 737mm L

Lube

1шт.

27

87414

LUBE NIPPLE,1/4" - 28

1шт.

28

86981489

BOLT,Hex, M16 x 70mm, Cl 10.9

1шт.

29

43127

BOLT,Hex, M8 x 1.25 x 25mm, Cl 8.8

4шт.

30

134814

NUT,11/16"

1шт.

31

9706690

NUT,M8 x 1.25, Cl 8

4шт.

32

86998693

WASHER,17.8mm ID x 76.2mm OD x 9.5mm Thk

1шт.

33

322358

BELLEVILLE WASHER,M8 Bolt Size x 18mm OD x 1.4mm Thk

4шт.

Выбрано товаров: 33