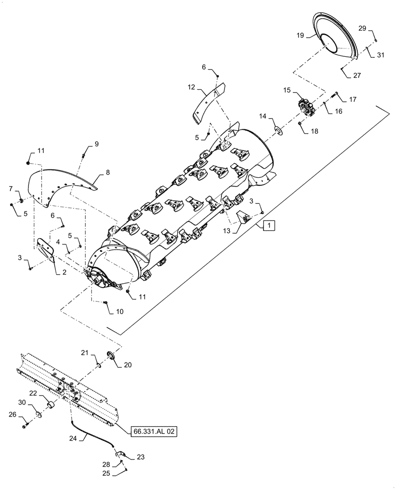
Запчасти Case IH 7240 (66.331.AK[06]) - VAR - 425102 - THRESHING CYLINDER, ROTOR (66) - THRESHING

Схема запчастей Case IH 7240 - (66.331.AK[06]) - VAR - 425102 - THRESHING CYLINDER, ROTOR (66) - THRESHING
66.331.al 02
11
5
27
2
30
6
25
13
11
31
3
26
3
8
18
21
28
5
15
24
5
19
14
23
10
6
4
16
12
9
1
17
7
22
29
20
FIT
1:1
100%

Артикул

Название

Примечание

Количество

1

47825943

ROTOR

Small Tube, 40 Element, Rice, Incl 2 - 18

1шт.

2

47802681

PLATE

Wear

2шт.

3

86981487

BOLT,Flange, M12 x 35mm, Full, Cl 10.9 DOR

42шт.

4

86625255

WASHER,13.3mm ID x 24.5mm OD x 3mm Thk

2шт.

5

412672

NUT,Hex, M12 x 1.75, Cl 10

12шт.

6

87314103

PLOW BOLT,M12 x 1.75 x 40mm, Cl 10.9

10шт.

7

87315598

SHIELD

Nut

4шт.

8

47825316

AUGER FLIGHT

Inlet

2шт.

9

87394282

PLOW BOLT,M16 x 55mm, Cl 10.9

12шт.

10

9843611

BOLT,Hex, M16 x 2.0 x 55mm, Cl 10.9

2шт.

11

86512380

FLANGE NUT,M16

14шт.

12

87396383

PLATE ASSY.

Wear, Helical Kicker

2шт.

13

47603368

RASP BAR

Spiked

40шт.

14

87697368

PLASTIC PLUG

Dust Cover

1шт.

15

84222993

SPLINED COUPLING,12T

Rotor Drive

1шт.

16

86625266

WASHER,17.5mm ID x 30mm OD x 4mm Thk

8шт.

17

86577946

BOLT,Hex, M16 x 80mm x 10.9

8шт.

18

86512380

FLANGE NUT,M16

8шт.

19

87603593

COVER ASSY

Cone

1шт.

20

87323577

RING

Reluctor Wheel, Rotor Speed

1шт.

21

87284474

SHIM,51.18mm ID x 59.7mm OD x 1mm Thk

1шт.

22

87281633

SPACER,50.88mm ID x 66.68mm OD x 44mm L

1шт.

23

87107260

SUPPORT

Lube Hose

1шт.

24

87107259

HOSE,3.02mm ID x 737mm L

Lube

1шт.

25

87414

LUBE NIPPLE,1/4" - 28

1шт.

26

86981489

BOLT,Hex, M16 x 70mm, Cl 10.9

1шт.

27

43127

BOLT,Hex, M8 x 1.25 x 25mm, Cl 8.8

4шт.

28

134814

NUT,11/16"

1шт.

29

9706690

NUT,M8 x 1.25, Cl 8

4шт.

30

86998693

WASHER,17.8mm ID x 76.2mm OD x 9.5mm Thk

1шт.

31

322358

BELLEVILLE WASHER,M8 Bolt Size x 18mm OD x 1.4mm Thk

4шт.

Выбрано товаров: 31