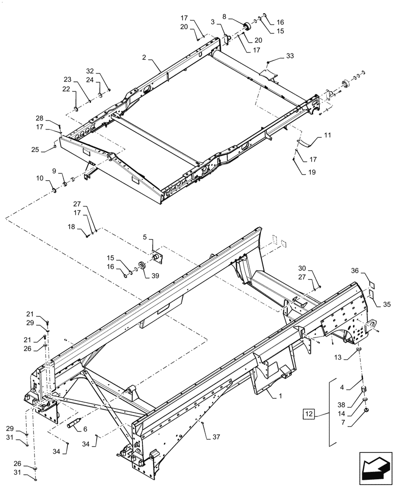
Запчасти Case IH 7240 (39.100.AB) - FRAME, LEVELING DEVICE (39) - FRAMES AND BALLASTING

Схема запчастей Case IH 7240 - (39.100.AB) - FRAME, LEVELING DEVICE (39) - FRAMES AND BALLASTING
2
1
17
14
30
21
20
28
31
17
33
8
12
4
15
26
17
29
3
9
27
29
34
16
13
34
38
6
37
31
10
11
22
17
7
18
15
26
5
16
21
32
25
27
39
17
36
19
24
20
35
23
FIT
1:1
100%

Артикул

Название

Примечание

Количество

1

47420248

FRAME

Lower Main

1шт.

2

84330828

FRAME

Self - Leveling

1шт.

3

84818451

HINGE

Bearing Mount

2шт.

4

47501712

STUD

2шт.

5

87280355

SUPPORT

Lower Frame Pivot

1шт.

6

9831928

SHAFT,M16

Front Pivot Pin

1шт.

7

190029

STOP,M10 x 1.0 x 20mm OD, Rubber

2шт.

8

434817

ROLLER,90mm OD x 35mm L

3шт.

9

429232

BUSHING,40mm ID x 44mm OD x 20mm L

2шт.

10

140061

WASHER,M41 x 60mm OD

1шт.

11

84457842

WEAR PLATE

1шт.

12

47501720

STOP

Oscillation Incl 7, 14, 38 - 39

2шт.

13

87107893

SPACER

Axle Stop

2шт.

14

47501731

SPACER

Oscillation Stop

2шт.

15

442203

WASHER,41mm ID x 50mm OD x 0.91mm Thk

6шт.

16

370006

SNAP RING,M40, Ext

3шт.

17

140045

BELLEVILLE WASHER,M10 Bolt Size x 22mm OD x 1.6mm Thk

12шт.

18

87032337

BOLT,Hex, M10 x 40mm, Cl 10.9

4шт.

19

43140

BOLT,Hex, M10 x 1.5 x 30mm, Cl 8.8

2шт.

20

43139

BOLT,M10 x 1.5 x 25mm, Cl 8.8

4шт.

21

43168

BOLT,Hex, M16 x 40mm, Cl 8.8

4шт.

22

9508900

WASHER,41mm ID x 60mm OD x 3mm Thk

1шт.

23

9513615

WASHER,16.5mm ID x 34mm OD x 0.5mm Thk

1шт.

24

84007183

WASHER,16.5mm ID x 58mm OD x 6mm Thk

1шт.

25

137938

SPACER

10.3mm ID x 19.05mm OD x 24.6mm L

2шт.

26

86589278

BELLEVILLE WASHER,17mm ID x 41.5mm OD x 4.5mm Thk

4шт.

27

394629

WASHER,10.5mm ID x 24mm OD x 3mm Thk

6шт.

28

120068

BOLT,Hex, M10 x 40mm, Cl 8.8

2шт.

29

394629

WASHER,10.5mm ID x 24mm OD x 3mm Thk

4шт.

30

86981462

FLANGE NUT,M10 x 1.5, Cl 10

2шт.

31

100020

NUT,M16 x 2.0, Cl 8

4шт.

32

86000441

NUT,M16 x 2.0, Cl 8

1шт.

33

100037

LOCK NUT,M10 x 1.5, Cl 8

2шт.

34

84578718

RIVET,Flng, 9mm OD x 18mm L

8шт.

35

84100296

DECAL

Tie Down

2шт.

36

449973

DECAL

Tow Hook

2шт.

37

87556072

NUT,Flng, 11.8mm OD x 19.8mm L

17шт.

38

47501723

SPACER

Oscillation Stop

2шт.

39

210049

BALL BEARING,40mm ID x 90mm OD x 23mm W

1шт.

Выбрано товаров: 0