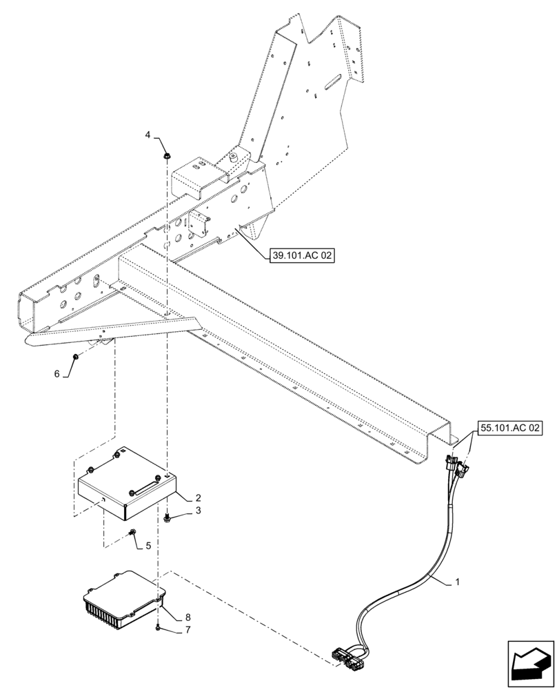
Запчасти Case IH 7240 (55.680.AN[02]) - VAR - 425111, 425286 - CONTROLLER, AUTOGUIDANCE, CERES (55) - ELECTRICAL SYSTEMS

Схема запчастей Case IH 7240 - (55.680.AN[02]) - VAR - 425111, 425286 - CONTROLLER, AUTOGUIDANCE, CERES (55) - ELECTRICAL SYSTEMS
39.101.ac 02
3
7
6
2
4
1
55.101.ac 02
8
5
FIT
1:1
100%

Артикул

Название

Примечание

Количество

1

47501327

WIRE HARNESS

CERES Module

1шт.

2

84545177

BRACKET

Navigation Controller

1шт.

3

87698835

FLANGE BOLT,M10 x 20mm, Full Thd, Cl 10.9

2шт.

4

86050279

FLANGE NUT,M10 x 1.5, Cl 10

2шт.

5

87681207

BOLT,M8 x 24.1mm, Cl 10.9

1шт.

6

86507066

FLANGE NUT,M8 x 1.25, Cl 10

1шт.

7

87695418

FLANGE BOLT,M6 x 1.0 x 16mm, Cl 10.9

4шт.

8

87518983

CONTROLLER

CERES/ Navigation

1шт.

Выбрано товаров: 8