Запчасти Case IH 8010 (55.785.04) - SENSOR, TAILINGS VOLUME (55) - ELECTRICAL SYSTEMS

Схема запчастей Case IH 8010 - (55.785.04) - SENSOR, TAILINGS VOLUME (55) - ELECTRICAL SYSTEMS
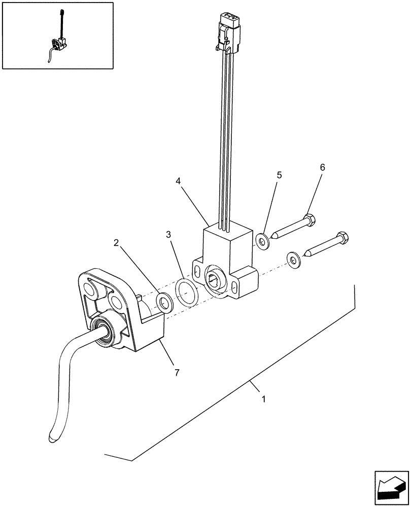
6
3
7
1
5
2
4
FIT
1:1
100%

Артикул

Название

Примечание

Количество

1

87630204

SENSOR

Tailings Volume; Includes: Refs 2 Thru 7

1шт.

1

84212481

SENSOR

Tailings Volume; Includes: Refs 2 Thru 7, Start Year: 01-APR-09

1шт.

2

86624184

WASHER,9mm ID x 16mm OD x 1.6mm Thk

1шт.

3

75285739

O-RING,0.103" Thk x 0.674" ID, -115, Cl 5, 75 Duro

1шт.

4

87283865

SENSOR

Tailings Volume

1шт.

5

88612

WASHER,0.22mm ID x 0.5mm OD x 0.05mm Thk

2шт.

6

86837479

SELF-TAP SCREW,Hex Hd, M4.8 x 40

2шт.

7

NSS

NOT SOLD SEPARAT

Housing

1шт.

Выбрано товаров: 0