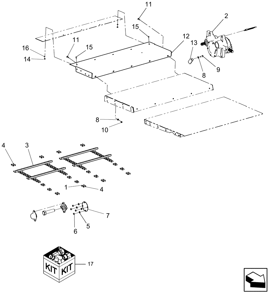
Запчасти Case IH 8010 (60.110.21[02]) - KIT, NON STONE TRAP - 7010/8010 (60) - PRODUCT FEEDING

Схема запчастей Case IH 8010 - (60.110.21[02]) - KIT, NON STONE TRAP - 7010/8010 (60) - PRODUCT FEEDING
10
7
4
11
4
17
12
5
14
9
15
8
2
13
11
1
8
16
15
3
6
FIT
1:1
100%

Артикул

Название

Примечание

Количество

1

87283350

LINK,41.4mm Pitch

8шт.

2

87536819

GEARBOX ASSY

W/O Stone Trap

1шт.

Has Friction Disc Type Clutch

1шт.

3

87397927

ELEVATOR CHAIN

ASSY

2шт.

4

87283349

LINK,41.4mm Pitch

8шт.

5

140046

BELLEVILLE WASHER,M12 Bolt Size x 27mm OD x 1.8mm Thk

4шт.

6

9706685

NUT,M12 x 1.75, Cl 8

4шт.

7

86995710

COVER

1шт.

8

140045

BELLEVILLE WASHER,M10 Bolt Size x 22mm OD x 1.6mm Thk

6шт.

9

43139

BOLT,M10 x 1.5 x 25mm, Cl 8.8

1шт.

10

100016

NUT,M10 x 1.5, Cl 8

5шт.

11

86512446

CARRIAGE BOLT,M10 x 1.5 x 30mm, Cl 8.8

5шт.

12

87283282

FLOOR

RR

1шт.

12

87730307

FLOOR

1шт.

13

87281862

PLATE

1шт.

14

9804277

FLANGE NUT,Hex, M8 x 1.25, Cl 8

5шт.

15

84814921

HEX SOC SCREW,CSS, M8 x 25mm, Cl 10.9

5шт.

16

322358

BELLEVILLE WASHER,M8 Bolt Size x 18mm OD x 1.4mm Thk

5шт.

17

87553554

KIT

Includes: Refs 1 Thru 16

1шт.

18

1329837C2

PIN,2.63mm OD

S Type For Refs 1 & 4

1шт.

Выбрано товаров: 20