Запчасти Case IH 8010 (74.130.05[02]) - CLEANING FAN, CLEAN-OUT DOOR KIT - WIDE AND NARROW 7010 AND 8010 (74) - CLEANING

Схема запчастей Case IH 8010 - (74.130.05[02]) - CLEANING FAN, CLEAN-OUT DOOR KIT - WIDE AND NARROW 7010 AND 8010 (74) - CLEANING
15
3
7
11
10
19
9
10
8
13
18
4
16
1
6
12
8
16
14
5
17
2
9
9
FIT
1:1
100%

Артикул

Название

Примечание

Количество

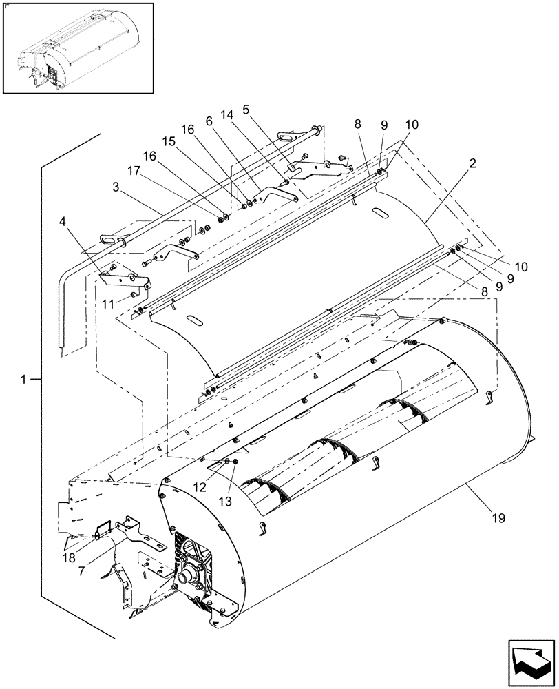
1

84169220

DIA KIT, HARVESTER

Clean-Out Door; Includes: Refs 2 Thru 19, As Indicated

1шт.

7010 Only

1шт.

1

84169221

DIA KIT, HARVESTER

Clean-Out Door; Includes: Refs 2 Thru 19, As Indicated

1шт.

8010 Only

1шт.

2

87478003

DOOR

1шт.

3

87493897

HANDLE

1шт.

7010 Only

1шт.

3

87663339

HANDLE

1шт.

8010 Only

1шт.

4

87477999

BRACKET

1шт.

5

87478001

BRACKET

1шт.

6

87663335

ARM

2шт.

7

87663341

LATCH

1шт.

8

87635283

ROD

2шт.

9

86624176

WASHER,11mm ID x 20mm OD x 2mm Thk

6шт.

10

130003

COTTER PIN,3mm OD x 30mm OAL

4шт.

11

9804258

BOLT,Hex, M8 x 1.25 x 20mm, Cl 8.8

4шт.

12

322358

BELLEVILLE WASHER,M8 Bolt Size x 18mm OD x 1.4mm Thk

4шт.

13

9804277

FLANGE NUT,Hex, M8 x 1.25, Cl 8

4шт.

14

43140

BOLT,Hex, M10 x 1.5 x 30mm, Cl 8.8

2шт.

15

626698

SPACER

2шт.

16

80702

WASHER,0.44" ID x 1" OD x 0.08" Thk

4шт.

17

100037

LOCK NUT,M10 x 1.5, Cl 8

2шт.

18

647695

PIN,7.94mm OD

1шт.

19

87493902

COVER ASSY

1шт.

7010 Only

1шт.

19

87635286

COVER ASSY

1шт.

8010 Only

1шт.

Выбрано товаров: 28