Запчасти Case IH 8010 (10.012.02[02]) - FRAME, ENGINE - 7010/8010 (10) - ENGINE

Схема запчастей Case IH 8010 - (10.012.02[02]) - FRAME, ENGINE - 7010/8010 (10) - ENGINE
5
5
5
3
6
4
1
7
1
7
6
6
3
7
4
6
6
3
2
4
2
4
6
FIT
1:1
100%

Артикул

Название

Примечание

Количество

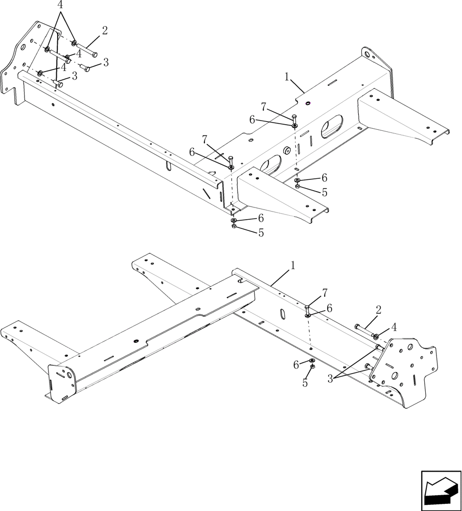
1

87351473

FRAME

1шт.

2

321246

BOLT,Hex, M16 x 2 x 120mm, Cl 8.8

3шт.

3

43168

BOLT,Hex, M16 x 40mm, Cl 8.8

3шт.

4

86625266

WASHER,17.5mm ID x 30mm OD x 4mm Thk

6шт.

5

9706685

NUT,M12 x 1.75, Cl 8

12шт.

6

86625256

WASHER,13.3mm ID x 28.5mm OD x 4mm Thk

24шт.

7

86629541

BOLT,Hex, M12 x 1.75 x 40mm, Cl 8.8

12шт.

Выбрано товаров: 7