Запчасти Case IH 8120 (90.118.37) - BRACKETS & HINGE, R.H. LOWER (90) - PLATFORM, CAB, BODYWORK AND DECALS

Схема запчастей Case IH 8120 - (90.118.37) - BRACKETS & HINGE, R.H. LOWER (90) - PLATFORM, CAB, BODYWORK AND DECALS
19
17
9
9
16
4
2
15
9
9
8
8
10
3
12
9
10
5
9
8
10
14
9
1
10
10
7
8
9
20
9
16
21
6
9
13
11
8
FIT
1:1
100%

Артикул

Название

Примечание

Количество

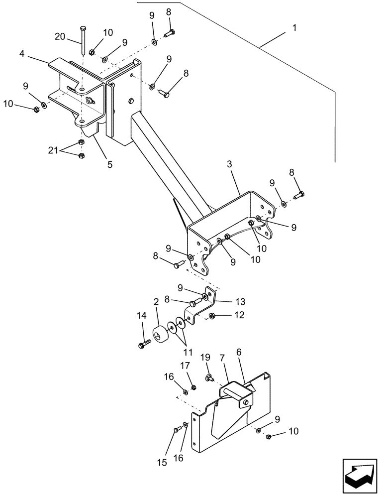
1

87693876

SUPPORT ASSY.

Incl Refs 3 Thru 5 & 8 Thru 10

1шт.

2

87602893

BUMPER,6.4mm ID x 38mm OD x 19mm Thk

1шт.

3

87672141

BRACKET

1шт.

4

87693648

BRACKET

1шт.

5

87693979

BRACKET

1шт.

6

87475013

BRACKET

1шт.

7

87494170

BRACKET

Latch, Striker

1шт.

8

43127

BOLT,Hex, M8 x 1.25 x 25mm, Cl 8.8

15шт.

9

322358

BELLEVILLE WASHER,M8 Bolt Size x 18mm OD x 1.4mm Thk

24шт.

10

9706690

NUT,M8 x 1.25, Cl 8

16шт.

11

87542959

WASHER,6.15mm ID x 30mm OD x 1.5mm Thk

2шт.

12

86050300

FLANGE NUT,M6 x 1.0, Cl 10

1шт.

13

84135081

BRACKET

1шт.

14

87698760

FLANGE BOLT,M6 x 36.6mm, Cl 10.9

Flg Hd, M6 x 30, 10.9 ZND

1шт.

15

86508568

BOLT,Hex, M6 x 1 x 16mm, Cl 8.8

4шт.

16

322357

BELLEVILLE WASHER,M6 Bolt Size x 14mm OD x 1.3mm Thk

8шт.

17

9706755

NUT,M6, Cl 8

4шт.

19

87682384

CARRIAGE BOLT,M8 x 1.25 x 25mm, Cl 10.9

4шт.

20

328048

BOLT,M12 x 1.75 x 147.68mm OAL, Cl 8.8

1шт.

21

9706685

NUT,M12 x 1.75, Cl 8

2шт.

Выбрано товаров: 20