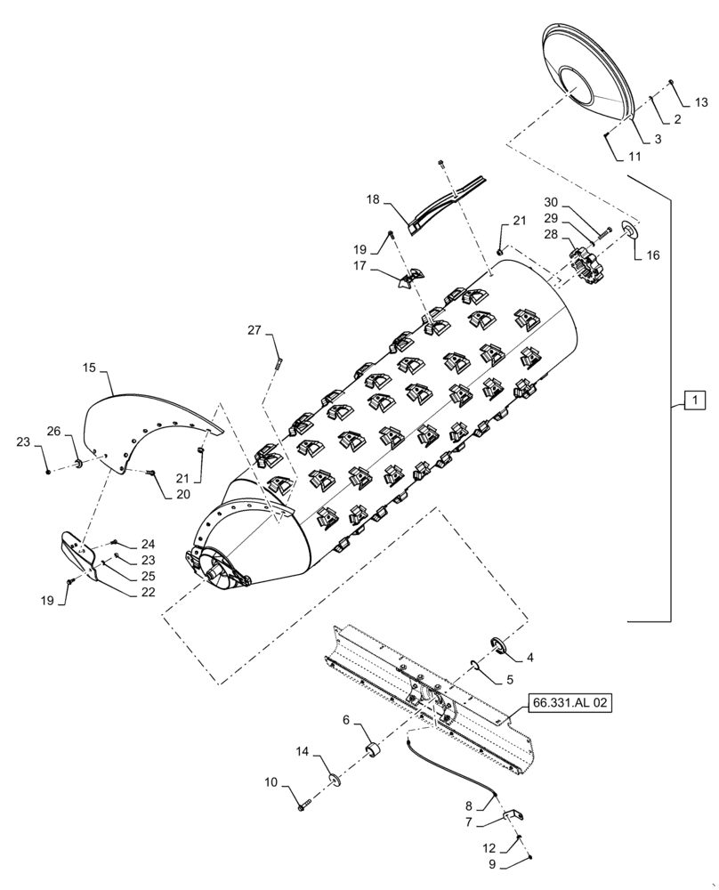
Запчасти Case IH 8240 (66.331.AK[03]) - VAR - 722750 - THRESHING CYLINDER, ROTOR (66) - THRESHING

Схема запчастей Case IH 8240 - (66.331.AK[03]) - VAR - 722750 - THRESHING CYLINDER, ROTOR (66) - THRESHING
9
12
11
27
17
19
22
2
19
4
15
29
25
20
10
18
5
14
7
16
1
13
21
66.331.al 02
23
21
6
30
3
24
28
26
8
23
FIT
1:1
100%

Артикул

Название

Примечание

Количество

1

87745141

ROTOR ASSY.

Large Tube, 76 Element, Rice, Incl 15 - 30

1шт.

2

322358

BELLEVILLE WASHER,M8 Bolt Size x 18mm OD x 1.4mm Thk

4шт.

3

87744743

COVER ASSY

Rotor

1шт.

4

87323577

RING

Reluctor Wheel, Rotor Speed

1шт.

5

87284474

SHIM,51.18mm ID x 59.7mm OD x 1mm Thk

51.18mm ID x 59.7mm OD x 0.92mm Thk

1шт.

6

87281633

SPACER,50.88mm ID x 66.68mm OD x 44mm L

1шт.

7

87107260

SUPPORT

Bracket, Lube Line

1шт.

8

87107259

HOSE,3.02mm ID x 737mm L

1шт.

9

87414

LUBE NIPPLE,1/4" - 28

1шт.

10

86981489

BOLT,Hex, M16 x 70mm, Cl 10.9

1шт.

11

43127

BOLT,Hex, M8 x 1.25 x 25mm, Cl 8.8

4шт.

12

134814

NUT,11/16"

11/16"-1/8

1шт.

13

9706690

NUT,M8 x 1.25, Cl 8

4шт.

14

86998693

WASHER,17.8mm ID x 76.2mm OD x 9.5mm Thk

1шт.

15

87378268

AUGER FLIGHT

Inlet

2шт.

16

87697368

PLASTIC PLUG

Rotor Tube, Rear

1шт.

17

278820A5

RASP BAR

W/ Spike, Extended Wear

72шт.

18

86992048

BAR

Helical Kicker

2шт.

19

86981487

BOLT,Flange, M12 x 35mm, Full, Cl 10.9 DOR

78шт.

20

9843611

BOLT,Hex, M16 x 2.0 x 55mm, Cl 10.9

2шт.

21

86512380

FLANGE NUT,M16

24шт.

22

87342923

WEAR PLATE

Rotor Flighting

2шт.

23

412672

NUT,Hex, M12 x 1.75, Cl 10

6шт.

24

87314103

PLOW BOLT,M12 x 1.75 x 40mm, Cl 10.9

M12 x 1.75 x 48mm OAL, Cl 10.9

4шт.

25

86625255

WASHER,13.3mm ID x 24.5mm OD x 3mm Thk

2шт.

26

87315598

SHIELD

Bolt Protection

4шт.

27

87281818

BOLT,M16 x 2.0 x 65mm, Cl 10.9

14шт.

28

84222993

SPLINED COUPLING,12T

Rotor Drive

1шт.

29

86625266

WASHER,17.5mm ID x 30mm OD x 4mm Thk

8шт.

30

86577946

BOLT,Hex, M16 x 80mm x 10.9

8шт.

Выбрано товаров: 0