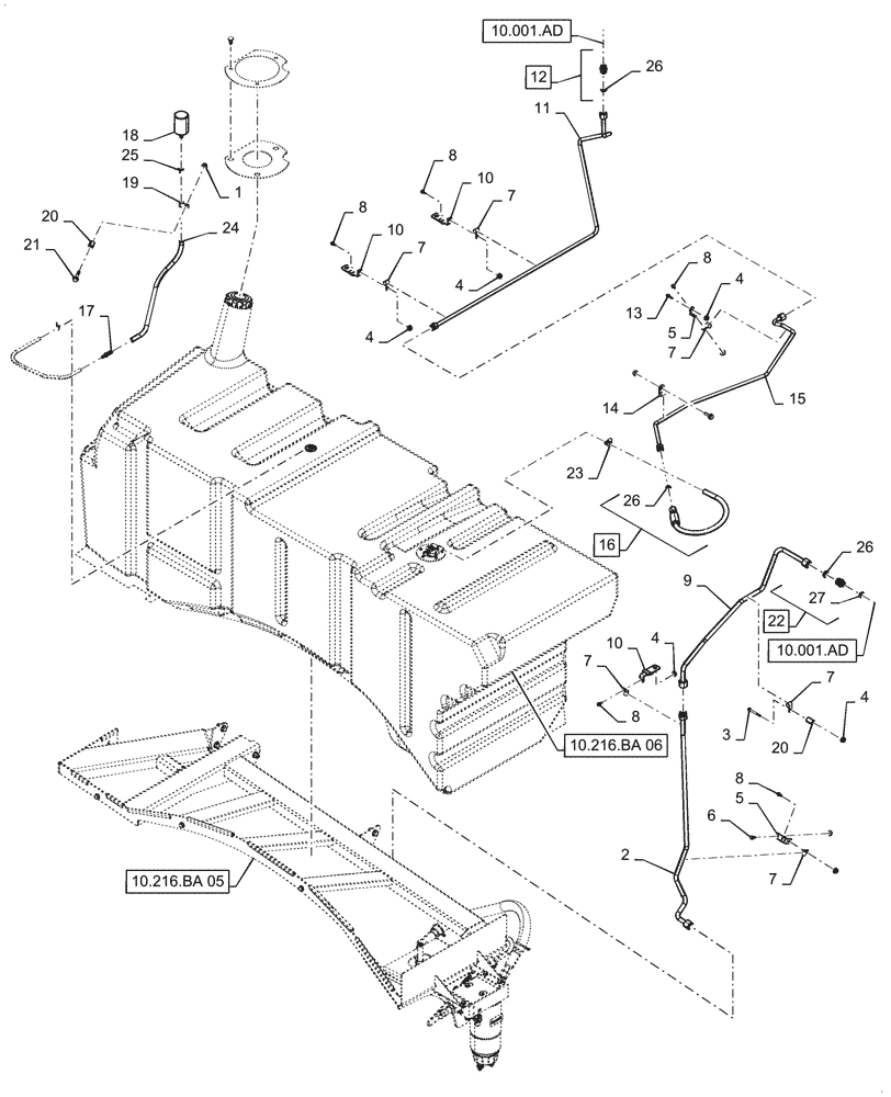
Запчасти Case IH 8240 (10.216.BA[04]) - FUEL LINE (10) - ENGINE

Схема запчастей Case IH 8240 - (10.216.BA[04]) - FUEL LINE (10) - ENGINE
10.001.ad
8
7
9
7
27
11
1
4
6
8
19
16
3
17
10
13
8
7
25
15
21
26
5
4
5
8
20
26
8
22
26
10
4
10
7
14
20
24
7
4
4
12
23
7
18
2
10.216.ba 06
10.216.ba 05
10.001.ad
FIT
1:1
100%

Артикул

Название

Примечание

Количество

1

86050279

FLANGE NUT,M10 x 1.5, Cl 10

1шт.

2

47698002

TUBE

Fuel, Tube to Tube

1шт.

3

87698761

BOLT,Hex, M6 x 60mm, Cl 10.9

1шт.

4

86050300

FLANGE NUT,M6 x 1.0, Cl 10

8шт.

5

47400742

SUPPORT

Fuel Line

2шт.

6

87675531

FLANGE BOLT,M6 x 26.6mm, Cl 10.9

1шт.

7

9706748

CLAMP,15.9mm, Coat, 8.7mm Bolt Hole, P Type

6шт.

8

87695418

FLANGE BOLT,M6 x 1.0 x 16mm, Cl 10.9

5шт.

9

47698883

TUBE

Fuel, Tube to Adapter

1шт.

10

47401693

SUPPORT

Fuel Line

3шт.

11

47698870

TUBE

Fuel, Return Line

1шт.

12

47402073

UNION,M18 x 1.5 x 13/16"-18

Incl 26

1шт.

13

87670758

FLANGE BOLT,M6 x 31.6mm, Cl 10.9

1шт.

14

86632595

CLAMP,12.7mm, Coat, 13.5mm Bolt Hole, P Type

1шт.

15

47697985

TUBE

Fuel, Return Line

1шт.

16

47403215

HOSE

Fule, Return Line to Sender, Incl 26

1шт.

17

47484902

UNION,3/8" - 1/4", Plastic Barb

1шт.

18

47437399

FUEL FILTER

Tank Vent

1шт.

19

86594406

CLAMP,15.9mm, Coat, 10.3mm Bolt Hole, P Type

1шт.

20

84132594

SPACER,10.7mm ID x 17.1mm OD x 30mm OAL

2шт.

21

87698840

FLANGE BOLT,M10 x 50mm, Cl 10.9

1шт.

22

47688467

HYD CONNECTOR,M16 x 1.5 x 1"-14

Incl 26, 27

1шт.

23

214-1708

HOSE CLAMP,#08, 0.5" - 0.91", Type M Worm

1шт.

24

47402087

BREATHER

Hose

1шт.

25

86637702

HOSE CLAMP,15.49mm - 16.26mm

1шт.

26

9992298

O-RING,0.07" Thk x 0.489" ID, -14, Cl 6, 90 Duro

3шт.

27

82019812

SEAL,13.8mm ID x 8.9mm OD x 1.5mm Thk

1шт.

Выбрано товаров: 27