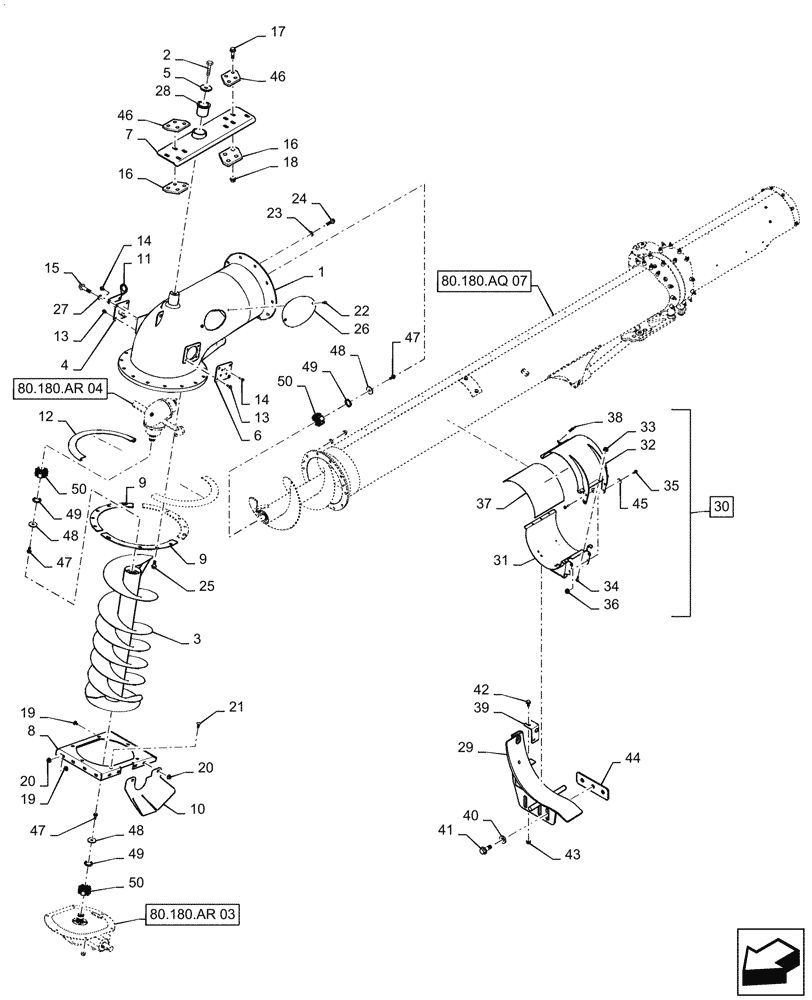
Запчасти Case IH 8240 (80.180.AP[07]) - VAR - 425353, 425356 - UNLOADING TUBE, FOLDING TOP (80) - CROP STORAGE/UNLOADING

Схема запчастей Case IH 8240 - (80.180.AP[07]) - VAR - 425353, 425356 - UNLOADING TUBE, FOLDING TOP (80) - CROP STORAGE/UNLOADING
80.180.ar 04
4
3
7
1
6
2
13
36
49
46
11
18
28
10
25
48
50
22
23
46
9
45
47
27
50
14
39
32
14
40
47
15
35
9
13
50
43
20
47
49
49
12
31
29
41
5
48
42
17
24
38
8
20
48
21
37
16
19
16
33
34
19
26
44
30
80.180.ar 03
80.180.aq 07
FIT
1:1
100%

Артикул

Название

Примечание

Количество

1

47463149

ELBOW

Unload Tube

1шт.

2

84163827

BOLT,M20 x 118.9mm OAL, Cl 10.9

1шт.

3

84522663

AUGER

Vertical Unload, Extended Wear, Serial Range: -YGG231218

1шт.

3

47886360

AUGER

Vertical Unload, Extended Wear, 8 Spline, Start Serial: YGG231219

1шт.

4

84357568

PLATE

Elbow, Side, 127mm W x 127mm OAL

1шт.

5

47463148

PLATE

Top Pivot Washer, 21mm ID x 95mm OD x 20mm Thk

1шт.

6

47377660

PLATE

Elbow, Side, 124.5mm W x 143mm OAL

1шт.

7

47471338

CHANNEL

Beam, Pivot

1шт.

8

84344564

PLATE

Elbow Base, 513.5mm W x 606.2mm OAL

1шт.

9

84373488

WIRE CLAMP

Ring Base

3шт.

10

84416047

SHIELD

Gearbox Guard

1шт.

11

84511607

BRACKET

Plate W/ Eye Hook

1шт.

12

84343576

RING,PLASTIC

Plastic Pivot, 14mm Thk

2шт.

13

87698835

FLANGE BOLT,M10 x 20mm, Full Thd, Cl 10.9

8шт.

14

87656137

BOLT,Flange Hex, M8 x 20mm, Cl 10.9

4шт.

15

84415414

BOLT,M20 x 98.9mm OAL, Full Thd, Cl 10.9

1шт.

16

47548517

PLATE

Lower Elbow, 168mm W x 126.5mm OAL x 17.3mm Thk

2шт.

17

47506619

BOLT,M20 x 88.9mm OAL, Full Thd, Cl 10.9

8шт.

18

47490610

NUT,M12 x 31.8mm OAL, Cl 8.8, Full Thd

8шт.

19

9503839

CARRIAGE BOLT,Short NK, M12 x 25, Cl8.8, Full Thd

16шт.

20

86512497

FLANGE NUT,M12 x 1.75, Cl 10

22шт.

21

87695426

CARRIAGE BOLT,M12 x 30mm, Cl 0.9

6шт.

22

87681207

BOLT,M8 x 24.1mm, Cl 10.9

2шт.

23

86639326

WASHER,17.3mm ID x 34.5mm OD x 5mm Thk

10шт.

24

47411035

BOLT,Hex Flng, M16 x 60mm, Full Thd, Cl 10.9

10шт.

25

87495304

FLANGE BOLT,M6 x 55.4mm, Cl 10.9

15шт.

26

84397140

COVER

Elbow

1шт.

27

13580001

WASHER,21mm ID x 36mm OD x 0.5mm Thk

21mm ID x 36mm OD x 0.5mm Thk

1шт.

28

47463129

BUSHING

HC Top Pivot

1шт.

29

84485433

CRADLE

Unload Tube Saddle

1шт.

30

47838895

CLAMP BRACKET

Assy, Unload Tube, Upgrade

1шт.

Z Bracket for Cradle

1шт.

30

47649480

BAND

Assy, Unload Tube, Incl 31 - 38, 45

1шт.

31

47649331

CLAMP

424.6mm W

1шт.

32

47649327

CLAMP

423.1mm W

1шт.

33

86507066

FLANGE NUT,M8 x 1.25, Cl 10

7шт.

34

87030775

BOLT,M8 x 38.1mm, Cl 10.9

7шт.

35

87698835

FLANGE BOLT,M10 x 20mm, Full Thd, Cl 10.9

4шт.

36

86050279

FLANGE NUT,M10 x 1.5, Cl 10

4шт.

37

84487455

RUBBER PAD

225mm W x 406mm OAL x 3.18 Thk

1шт.

38

47619489

PIN

Klik, Quick Retainer, 7.94mm OD

1шт.

39

47360554

BRACKET

Supporting

1шт.

40

86979179

WASHER,16.67mm ID x 34.93mm OD x 6.35mm Thk

3шт.

41

87698849

BOLT,M16 x 50mm, Cl 10.9

3шт.

42

87681207

BOLT,M8 x 24.1mm, Cl 10.9

1шт.

43

87681210

FLANGE NUT,M8 x 1.25, Cl 10

1шт.

44

47535076

PLATE

Saddle Support, 200mm OAL x 40mm W

1шт.

45

47771442

WASHER

Unload Tube Securing, 21mm ID x 10.668mm Thk

1шт.

46

47548526

PLATE

Upper Elbow, 126.5mm W x 168mm OAL

2шт.

47

87030508

BOLT,Hvy Hex, M12 x 30mm, Full Thd, Cl 10.9

, Start Serial: YGG231219

3шт.

48

327084

WASHER,13mm ID x 52mm OD x 5mm Thk

, Start Serial: YGG231219

3шт.

49

47832557

SPACER

Hub, Start Serial: YGG231219

3шт.

50

47745647

COUPLING

Course, Start Serial: YGG231219

3шт.

Выбрано товаров: 0