Запчасти Case IH 8240 (88.100.25[03]) - DIA KIT, AXLE EXTENSION, 316MM (88) - ACCESSORIES

Схема запчастей Case IH 8240 - (88.100.25[03]) - DIA KIT, AXLE EXTENSION, 316MM (88) - ACCESSORIES
13
7
10
10
8
5
13
12
6
12
4
9
2
12
1
12
3
4
11
3
11
FIT
1:1
100%

Артикул

Название

Примечание

Количество

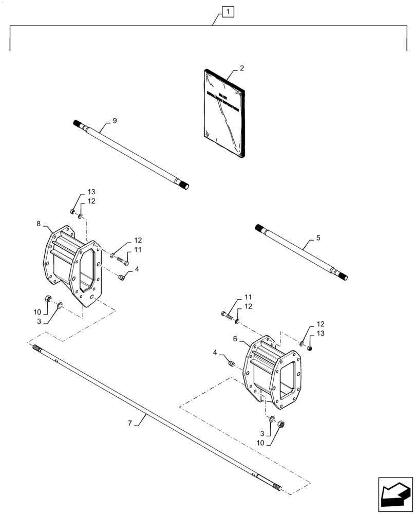
1

84095959

DIA KIT, HARVESTER

Axle Extension, 316mm, Incl 2 - 13

1шт.

2

47527723

INSTRUCTION

Installation, Axle Extension

1шт.

3

80140184

WASHER,31mm ID x 50mm OD x 3mm Thk

31mm ID x 50mm OD

2шт.

4

626826

DOWEL,29.92mm OD x 35.1mm L

4шт.

5

84440951

DRIVE SHAFT

22 Tooth, 979mm OAL

1шт.

6

87108164

EXTENSION

LH, Axle, 316mm W

1шт.

7

84989399

ROD

M30 x 1.5 x 2752mm OAL

1шт.

8

87108166

EXTENSION

RH, Axle, 316mm W

1шт.

9

84440957

DRIVE SHAFT

22 Tooth, 1239mm OAL

1шт.

10

300852

NUT,M30 x 1.5, Cl 8

2шт.

11

87342001

BOLT,Hex, M20 x 90, Class 10.9, DOR

16шт.

12

394632

WASHER,21mm ID x 40mm OD x 4mm Thk

32шт.

13

87024336

NUT,M20 x 2.5, Cl 10

16шт.

Выбрано товаров: 13