Запчасти Case IH 9120 (39.100.01) - FRAME, SELF-LEVELING (39) - FRAMES AND BALLASTING

Схема запчастей Case IH 9120 - (39.100.01) - FRAME, SELF-LEVELING (39) - FRAMES AND BALLASTING
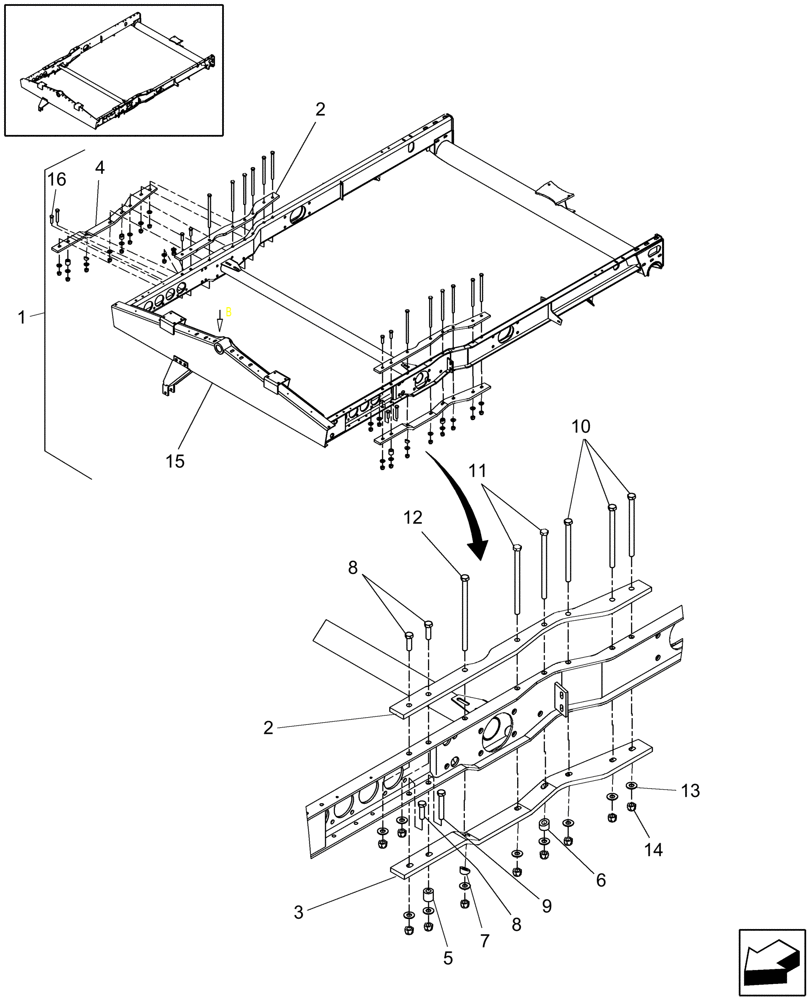
1
b
10
8
11
14
6
16
2
8
12
3
4
15
7
13
5
9
2
FIT
1:1
100%

Артикул

Название

Примечание

Количество

1

87573764

FRAME

, Serial Range: -Y9G206376

1шт.

1

84181481

FRAME ASSY

, Start Serial: Y9G206376

1шт.

7120 Only

1шт.

1

87573766

FRAME

, Serial Range: -Y9G206380

1шт.

1

84181483

FRAME ASSY

, Start Serial: Y9G206380

1шт.

8120 & 9120 Only

1шт.

2

87369975

SUPPORT

2шт.

3

87538178

SUPPORT

1шт.

4

87538180

SUPPORT

1шт.

5

87373358

BUSHING

2шт.

6

87369974

SPACER,13mm ID x 25mm OD x 20mm L

2шт.

7

87374530

BUSHING

2шт.

8

86629541

BOLT,Hex, M12 x 1.75 x 40mm, Cl 8.8

6шт.

9

350460

BOLT,Hex, M12 x 1.75 x 75mm, Cl 8.8

2шт.

10

336383

BOLT,Hex, M12 x 1.75 x 180mm, Cl 8.8

6шт.

11

87560260

BOLT,Hex, M12 x 200mm, Cl 8.8

4шт.

12

364053

BOLT,Hex, M12 x 1.75 x 220mm, Cl 8.8

2шт.

13

140046

BELLEVILLE WASHER,M12 Bolt Size x 27mm OD x 1.8mm Thk

20шт.

14

100038

NUT,M12 x 1.75, Cl 8

20шт.

15

NSS

NOT SOLD SEPARAT

1шт.

7120 Only

1шт.

15

NSS

NOT SOLD SEPARAT

1шт.

8120 & 9120 Only

1шт.

16

120080

BOLT,Hex, M12 x 45, 8.8

1шт.

Выбрано товаров: 24