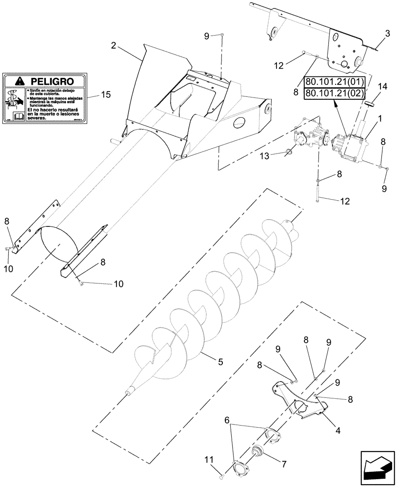
Запчасти Case IH 9120 (80.101.10) - BUBBLE-UP AUGER (80) - CROP STORAGE/UNLOADING

Схема запчастей Case IH 9120 - (80.101.10) - BUBBLE-UP AUGER (80) - CROP STORAGE/UNLOADING
1
10
8
9
8
5
10
9
2
3
8
7
6
9
80.101.21(01)
4
14
8
11
8
13
8
9
80.101.21(02)
8
9
8
12
12
15
FIT
1:1
100%

Артикул

Название

Примечание

Количество

1

86638425

GEARBOX

1шт.

This is a Tandem Assembly; Part Includes Both Gearboxes Shown

1шт.

86638425R

REMAN-GEARBOX

7120 (9/08-2/12), 8120, 9120, Both (9/08-)

1шт.

86638425C

CORE-GEARBOX

Return Number

1шт.

1

87721343

GEARBOX

MY10 Update, Will Not Fit Prior MY

1шт.

87721343R

REMAN-GEARBOX

8120, 9120, Both (9/08-), 7120 (9/08-2/12)

1шт.

87721343C

CORE-GEARBOX

Return Number

1шт.

2

87662993

SERVICE KIT

Std; L = 2148 mm; Incl Ref 16

1шт.

NA & Latin America Only

1шт.

2

87668036

SERVICE KIT

Std; L = 1918 mm; Incl Ref 15

1шт.

Used W/Grain Tank Covers

1шт.

2

87668035

SERVICE KIT

Extended Wear; L = 2148 mm; Incl Ref 16

1шт.

NA & Latin America Only

1шт.

2

87668037

SERVICE KIT

Extended Wear; L=1918 mm; Incl Ref 15

1шт.

Used W/Grain Tank Covers

1шт.

3

87107022

SUPPORT

1шт.

4

86998682

BRACKET

1шт.

5

87106625

AUGER

VAR - 722631 - MY09, Std Wear, L = 1842 mm

1шт.

5

87106615

AUGER

VAR - 425241, 722481 - Std Wear, L = 2072 mm

1шт.

5

87733272

AUGER

VAR - 722633 - Extended Wear, L = 1842 mm

1шт.

5

87733275

AUGER

VAR - 722483 - Extended Wear, L = 2072 mm

1шт.

6

86620026

FLANGED BEARING

2шт.

7

87605590

BEARING ASSY,35mm ID x 72mm OD x 19mm W

1шт.

7

87016482

SET SCREW,M10 x 10mm

1шт.

Not Shown

1шт.

8

140045

BELLEVILLE WASHER,M10 Bolt Size x 22mm OD x 1.6mm Thk

23шт.

9

100016

NUT,M10 x 1.5, Cl 8

15шт.

10

43139

BOLT,M10 x 1.5 x 25mm, Cl 8.8

4шт.

11

86512446

CARRIAGE BOLT,M10 x 1.5 x 30mm, Cl 8.8

3шт.

12

86508574

BOLT,Hex, M10 x 120mm, Cl 8.8

8шт.

13

87280933

SEAL,28.96mm ID x 37.08mm OD x 7.62mm Thk

1шт.

14

87282653

SEAL,38mm ID x 68mm OD x 32mm Thk

1шт.

15

84004736

DANGER DECAL

Never Reach Into Rotating Auger

1шт.

16

86640420

DANGER DECAL

1шт.

Выбрано товаров: 34