Качественные детали и логистика
Оригинальные и аналоговые запчасти с доставкой по России, Казахстану и Беларуси
©2022 PartSell ООО "Система" ИНН 2463123282 ОГРН 1212400004838
Центральный офис: г. Красноярск, Академика Киренского, д.87, пом.4
Телефон: 8 (800) 777-65-74 Email: zakaz@partsell.ru
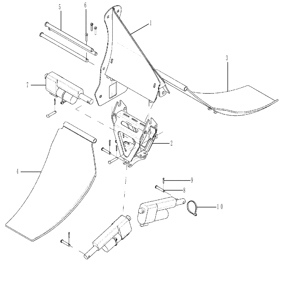
(88.230.19[02]) - DIVIDER CROP ASSEMBLY DELUXE NARROW
№
Артикул
Название
Примечание
Количество
1
84174625
DIVIDER
1шт.
2
84174620
CARRIER
3
84216646
DEFLECTOR
Left HAnd
4
84216648
Right Hand
5
87312467
PIN
3шт.
6
394818
COTTER PIN,M5 x 25
7
84174563
SWITCH
Actuator 50 mm
2шт.
8
84218886
6шт.
9
300408
COTTER PIN,M3.2 x 14mm OAL
10
86566989
CABLE TIE,208mm L
CABLE STRAP
4шт.
Выбрано товаров: 0