Запчасти Case IH 9230 (33.202.23) - SERVICE BRAKE PRESSURE LIMITER (33) - BRAKES & CONTROLS

Схема запчастей Case IH 9230 - (33.202.23) - SERVICE BRAKE PRESSURE LIMITER (33) - BRAKES & CONTROLS
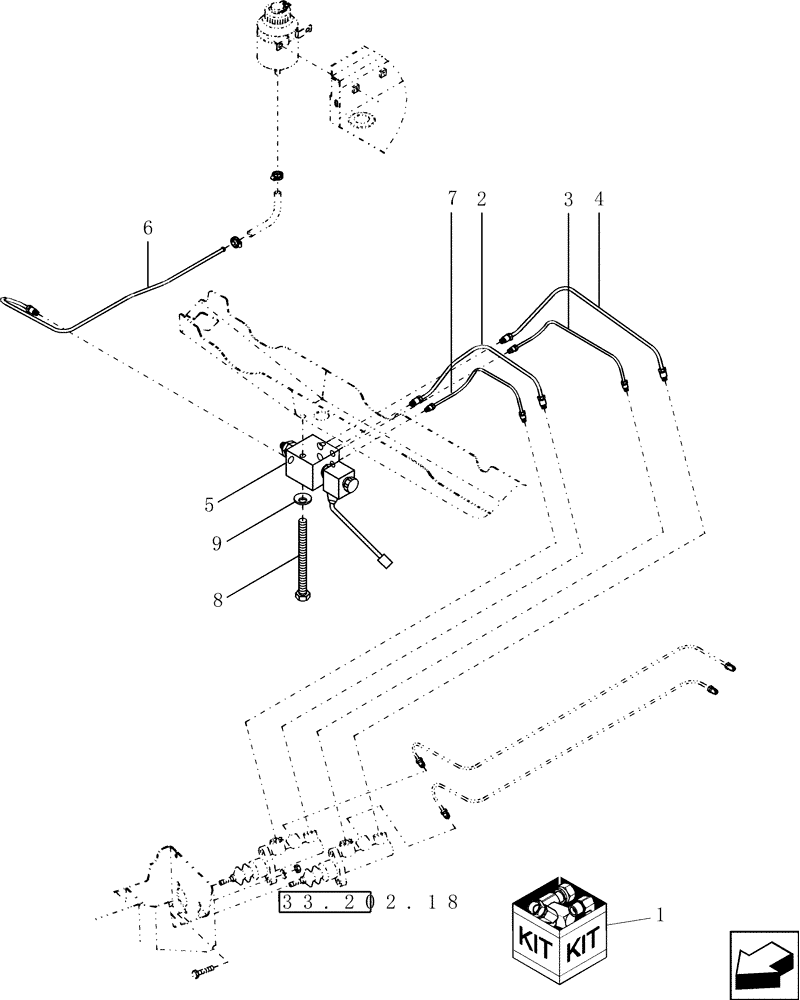
8
2
7
4
5
33.202.18
3
9
1
6
FIT
1:1
100%

Артикул

Название

Примечание

Количество

1

84111776

DIA KIT, HARVESTER

Brake Pressure Limiter

1шт.

2

84444597

HYD TUBE,6 mm DIA x 217, 164 mm L

Brake

1шт.

3

84439851

TUBE,4.75 mm DIA x 237, 50 mm L

Brake

1шт.

4

84444599

HYD TUBE,6 mm DIA x 304, 142.5 mm L

Brake

1шт.

5

84607499

HYDRAULIC VALVE

1шт.

6

84444595

HYD TUBE,6 mm DIA

Brake

1шт.

7

84439849

TUBE,4.75 mm DIA x 168, 71 mm L

Brake

1шт.

8

86508569

BOLT,Hex, M6 x 70mm, Cl 8.8

1шт.

9

322357

BELLEVILLE WASHER,M6 Bolt Size x 14mm OD x 1.3mm Thk

1шт.

Выбрано товаров: 9