Запчасти Case IH 9230 (72.420.AM) - VAR - 425198, 425199, 425513 - CAGE, ROTOR, ASN YDG220144 (72) - SEPARATION

Схема запчастей Case IH 9230 - (72.420.AM) - VAR - 425198, 425199, 425513 - CAGE, ROTOR, ASN YDG220144 (72) - SEPARATION
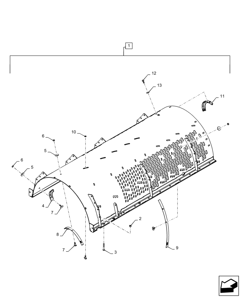
1
4
7
12
6
9
11
5
8
13
5
10
6
7
3
2
FIT
1:1
100%

Артикул

Название

Примечание

Количество

1

84598506

VANE

Rotor, Standard Wear, Incl 2 - 13, - VAR - 425198

1шт.

1

84598507

VANE

Rotor, Extended Wear, Incl 2 - 13, - VAR - 425199

1шт.

1

84604772

VANE

Rotor, Chrome, Incl 2 - 13, - VAR - 425513

1шт.

2

9706685

NUT,M12 x 1.75, Cl 8

2шт.

3

87016227

BOLT,Hex, M12 x 80mm, Cl 8.8

M12 x 80mm, Cl 8.8

2шт.

4

87107892

ANGLE

Support Bracket, Inner Cage Wall

1шт.

5

140219

WASHER,11mm ID x 40mm OD x 4mm Thk

25шт.

6

100016

NUT,M10 x 1.5, Cl 8

25шт.

7

87106338

BOLT

M10 x 30mm, Cl 8.8

30шт.

8

84567289

VANE

Rotor Cage, Upper, 68mm OAL

6шт.

9

87717924

VANE

Rotor Cage, Side, 68mm OAL

4шт.

10

87698854

NUT,M10

5шт.

11

84594130

VANE

Rotor, Machined

1шт.

12

9804261

BOLT,Hex, M10 x 25mm, Cl 8.8, Full Thd

3шт.

13

83904166

WASHER,10.5mm ID x 30mm OD x 4mm Thk

3шт.

14

47510553

SERVICE KIT

Incl 4 - 13

1шт.

Выбрано товаров: 16