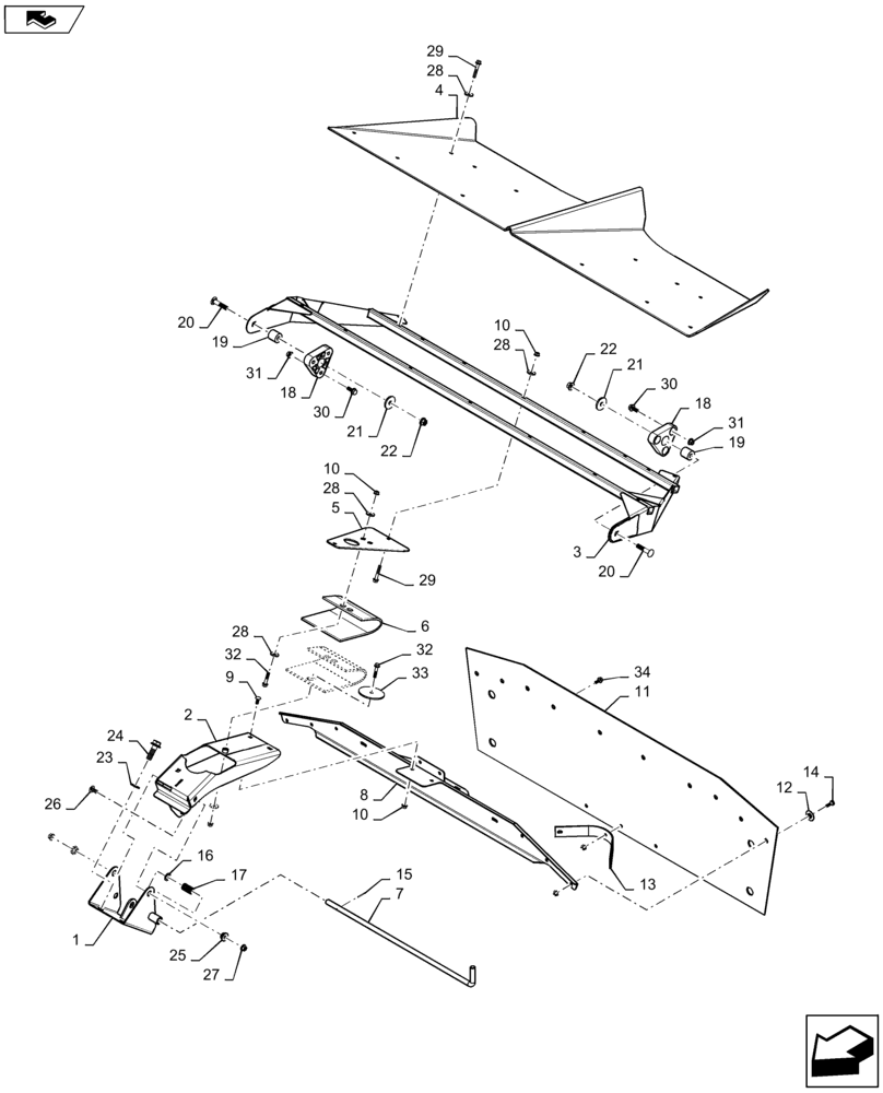
Запчасти Case IH 9230 (73.335.AB[04]) - VAR - 425488 - PAN, CHAFF SPREADER, BSN YDG222003 (73) - RESIDUE HANDLING

Схема запчастей Case IH 9230 - (73.335.AB[04]) - VAR - 425488 - PAN, CHAFF SPREADER, BSN YDG222003 (73) - RESIDUE HANDLING
20
8
30
32
28
27
14
17
4
30
11
6
18
21
1
2
20
31
10
28
3
29
19
25
9
28
21
32
22
10
33
5
24
18
13
10
23
7
34
15
31
29
22
26
12
16
28
19
FIT
1:1
100%

Артикул

Название

Примечание

Количество

1

84535667

PIVOT

Spreader Pan

1шт.

2

84544075

SUPPORT

Center Of Pan

1шт.

3

47416657

FRAME

Rear

1шт.

4

47416660

PAN

Chaff

1шт.

5

84154907

PLATE ASSY.

Support

1шт.

6

84154916

BELT

3 Ply Rubber

2шт.

7

84344825

PIN,15.9mm OD

574mm Long

1шт.

8

84565736

SUPPORT

Rear Curtain

1шт.

9

87682383

CARRIAGE BOLT,M8 x 1.25 x 20mm, Cl 10.9

2шт.

10

87681210

FLANGE NUT,M8 x 1.25, Cl 10

30шт.

11

84546960

CURTAIN,438mm W x 1435mm L

Canvas/Rubber

1шт.

12

87374162

BUSHING,9mm ID x 35mm OD x 6mm L

13шт.

13

87300945

STRAP

Securing

1шт.

14

84602566

STUD,M8 x 1.25 x 25mm OAL

7шт.

15

87913

LOCK PIN,3.17mm OD x 31.75mm L, Slotted

1шт.

16

87613216

WASHER,0.66" ID x 1" OD x 0.06" Thk

.656" x 1.0" x .061"

1шт.

17

47603

SPRING

Compression

1шт.

18

87105202

BUSHING

Triangle

2шт.

19

87000413

BUSHING,12.7mm ID x 31.75mm OD x 32mm L

Center Of Triangle

2шт.

20

87495309

CARRIAGE BOLT,M12 x 1.75 x 66.8mm, Cl 10.9

2шт.

21

9511052

WASHER,13.5mm ID x 44mm OD x 4mm Thk

2шт.

22

87681209

FLANGE NUT,Hex, M12 x 1.75, Cl 10

2шт.

23

140048

BELLEVILLE WASHER,M16 Bolt Size x 32mm OD x 2.8mm Thk

2шт.

24

87698849

BOLT,M16 x 50mm, Cl 10.9

2шт.

25

84231043

BUSHING,10.5mm ID x 27mm OD x 12mm Thk

Shoulder

2шт.

26

87682392

CARRIAGE BOLT,M10 x 1.5 x 30mm, Cl 10.9

2шт.

27

86050279

FLANGE NUT,M10 x 1.5, Cl 10

2шт.

28

140041

WASHER,M8 x 28mm OD x 3mm Thk

17шт.

29

87698763

FLANGE BOLT,Hex, M8 x 50mm, Cl 0.9

12шт.

30

87698836

BOLT,M10 x 25mm, Full Thd, Cl 10.9

6шт.

31

87547587

LOCK NUT,Hex, M10 x 1.5, Cl 10

6шт.

32

87698834

BOLT,M8 x 48.1mm, Cl 10.9

3шт.

33

136443

WASHER,10.32mm ID x 57.15mm OD x 4.8mm Thk

1шт.

34

87656137

BOLT,Flange Hex, M8 x 20mm, Cl 10.9

6шт.

Выбрано товаров: 34