Запчасти Case IH 9230 (73.335.AK[02]) - VAR - 425488 - CURTAIN, CHAFF SPREADER, RH (73) - RESIDUE HANDLING

Схема запчастей Case IH 9230 - (73.335.AK[02]) - VAR - 425488 - CURTAIN, CHAFF SPREADER, RH (73) - RESIDUE HANDLING
4
8
13
12
6
7
11
14
2
11
11
13
13
3
12
10
11
5
14
12
11
9
10
9
5
14
12
10
9
1
FIT
1:1
100%

Артикул

Название

Примечание

Количество

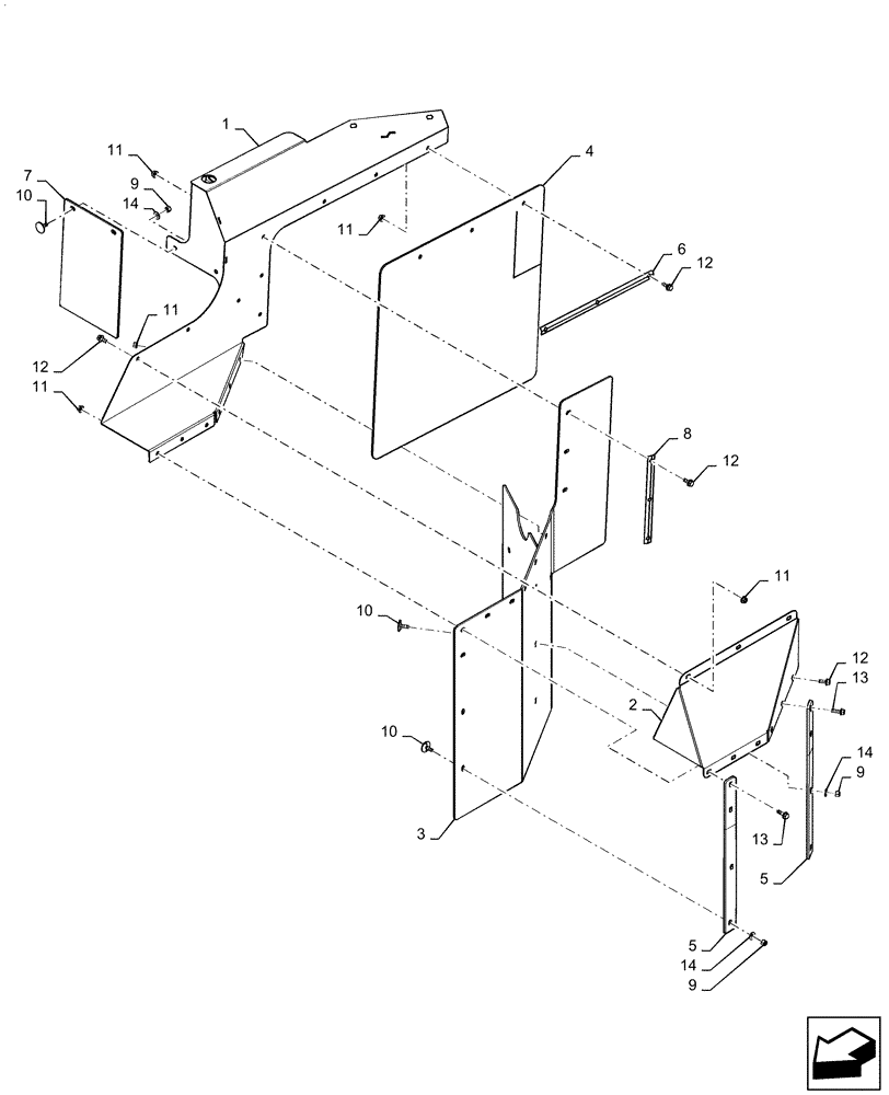
1

84513575

SUPPORT

RH

1шт.

2

84523244

COVER ASSY

RH

1шт.

3

47468274

CURTAIN

RH Rear

1шт.

4

84416181

CANVAS

RH Front, 600mm W x 600mm OAL x 5.57mm Thk

1шт.

5

84545552

STRIP

Plastic, 482mm OAL

2шт.

6

84470926

STRIP

Steel, 410mm OAL

1шт.

7

84467793

CURTAIN

Deflector, Rubber, 210mm W x 331mm OAL

1шт.

8

84470930

STRIP

Steel, 270mm OAL

1шт.

9

412250

NUT,M8 x 1.25, Cl 8

8шт.

10

84602566

STUD,M8 x 1.25 x 25mm OAL

8шт.

11

87681210

FLANGE NUT,M8 x 1.25, Cl 10

14шт.

12

87656137

BOLT,Flange Hex, M8 x 20mm, Cl 10.9

12шт.

13

87698833

BOLT,M8 x 33.1mm, Cl 10.9

2шт.

14

86625263

WASHER,9mm ID x 20mm OD x 1.6mm Thk

8шт.

Выбрано товаров: 14