Запчасти Case IH 9230 (74.118.AA[02]) - SHAKER SHOE HOUSING, LOWER, ASN YDG222004 (74) - CLEANING

Схема запчастей Case IH 9230 - (74.118.AA[02]) - SHAKER SHOE HOUSING, LOWER, ASN YDG222004 (74) - CLEANING
24
14
17
23
8
18
23
6
9
8
2
13
16
24
21
13
9
10
15
9
12
19
20
22
8
14
8
7
9
8
9
8
13
8
3
1
11
5
14
20
7
6
4
FIT
1:1
100%

Артикул

Название

Примечание

Количество

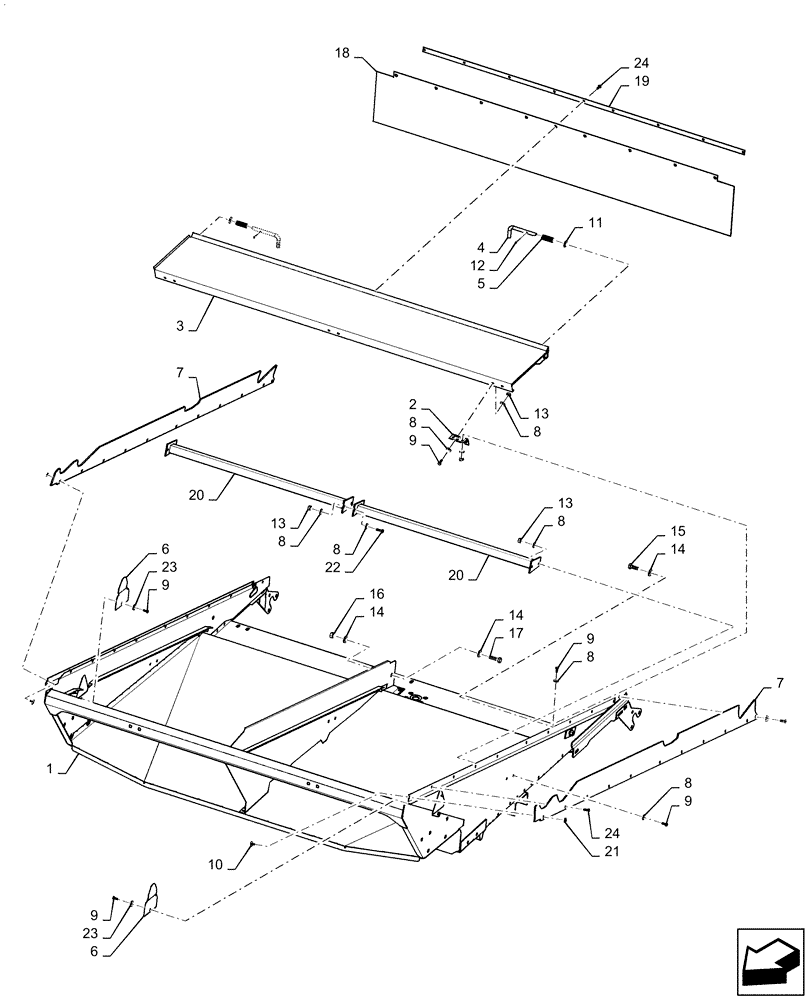
1

84567624

SHAKER SHOE

Lower

1шт.

2

86529373

HINGE

Rear Shaker

3шт.

3

84390706

COVER

Rear Shaker

1шт.

4

394549

HANDLE,12mm OD

Retaining

2шт.

5

84814911

SPRING

Compression, 10.5 Coils

2шт.

6

87535684

COVER

Plated

2шт.

7

87585352

CANVAS,90mm W x 1985mm OAL

Side Shoe Seal

2шт.

8

412649

BELLEVILLE WASHER,M6 Bolt Size x 18mm OD x 1.4mm Thk

36шт.

9

86508568

BOLT,Hex, M6 x 1 x 16mm, Cl 8.8

18шт.

10

9512968

RIVET,Pop, 4.8mm OD x 11.2mm L

Aluminum, 4.8mm OD x 11.2mm OAL

2шт.

11

140223

WASHER,M13 x 25mm OD x 2mm Thk

2шт.

12

130003

COTTER PIN,3mm OD x 30mm OAL

2шт.

13

9706755

NUT,M6, Cl 8

18шт.

14

140046

BELLEVILLE WASHER,M12 Bolt Size x 27mm OD x 1.8mm Thk

4шт.

15

9706687

BOLT,M12 x 1.75 x 30mm, Cl 8.8

2шт.

16

9706685

NUT,M12 x 1.75, Cl 8

1шт.

17

86629541

BOLT,Hex, M12 x 1.75 x 40mm, Cl 8.8

1шт.

18

87105832

CANVAS,250mm W x 1585mm OAL

Rear Shoe Seal

1шт.

19

87000280

STRIP

Retaining 1426mm OAL x 20mm Thk

1шт.

20

84320452

PROFILE

Rear Support

2шт.

21

322356

BELLEVILLE WASHER,M5 Bolt Size x 12mm OD x 1.85mm Thk

2шт.

22

120100

BOLT,M6 x 20mm, Cl 8.8

2шт.

23

140040

WASHER,6.6mm ID x 22mm OD x 2mm Thk

4шт.

24

84446204

RIVET,Pop, 6.28mm OD x 19.5mm L

29шт.

Выбрано товаров: 0