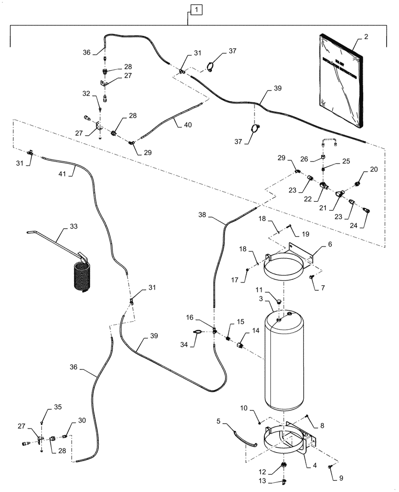
Запчасти Case IH 9230 (88.100.36[02]) - DIA KIT AIR COMPRESSOR KIT PAGE 2 OF 3 (88) - ACCESSORIES

Схема запчастей Case IH 9230 - (88.100.36[02]) - DIA KIT AIR COMPRESSOR KIT PAGE 2 OF 3 (88) - ACCESSORIES
8
1
37
9
18
30
13
4
28
39
14
29
36
22
3
20
21
11
28
37
16
15
2
41
40
5
23
26
25
34
18
31
31
19
27
6
12
10
17
27
38
7
39
31
36
28
35
24
29
27
23
32
33
FIT
1:1
100%

Артикул

Название

Примечание

Количество

1

84550575

SERVICE KIT

Incl 2 - 41

1шт.

2

84554226

OPERATOR MANUAL

1шт.

3

84036945

AIR RESERVOIR

1шт.

4

84151996

SUPPORT

1шт.

5

84175309

RUBBER BLOCK

1шт.

6

84149140

SUPPORT

1шт.

7

87343550

FLANGE BOLT,Hex, M12 x 25mm

2шт.

8

87682384

CARRIAGE BOLT,M8 x 1.25 x 25mm, Cl 10.9

1шт.

9

86705429

BOLT,M10 x 34.2mm OAL, Full Thd, Cl 10.9

1шт.

10

86507066

FLANGE NUT,M8 x 1.25, Cl 10

3шт.

11

84814963

FITTING

2шт.

12

84019122

FITTING

1шт.

13

441031

DRAINCOCK/TAP SUPPLY,M14 x 1.5, T - Handle

1шт.

14

84171940

HYD CONNECTOR

1шт.

15

217-43

REDUCER,1/2" - 14 NPTF x 1/4" - 18 Fem NPTF

1шт.

16

84182764

BRANCH TEE

1шт.

17

86629542

NUT,M8 x 1.25, Cl 8.8

2шт.

18

322358

BELLEVILLE WASHER,M8 Bolt Size x 18mm OD x 1.4mm Thk

7шт.

19

43129

BOLT,Hex, M8 x 1.25 x 40mm, LH Thd, Cl 8.8

2шт.

20

82016497

HYD CONNECTOR,13/16"-16 ORFS x M22 x 1.5

1шт.

21

84431325

TEE,13/16"-16 ORFS x 13/16"-16 Fem Sw Br

1шт.

22

86514261

TEE,13/16" - 16 JIC x 13/16" - 16 ORFS x 13/16" - 16 ORFS

1шт.

23

84166641

HYD CONNECTOR

1шт.

24

84172049

COUPLING

5шт.

25

87388776

ADAPTER,13/16" - 16

2шт.

26

85802628

HYD CONNECTOR,1/2"

1шт.

27

84169096

ANGLE

3шт.

28

84171982

HYD CONNECTOR

3шт.

29

84162975

HYD CONNECTOR

3шт.

30

84162977

HYD CONNECTOR

2шт.

31

84175931

HYD CONNECTOR

3шт.

32

87656137

BOLT,Flange Hex, M8 x 20mm, Cl 10.9

1шт.

33

84182443

AIR GUN

1шт.

34

86566989

CABLE TIE,208mm L

6шт.

35

87682383

CARRIAGE BOLT,M8 x 1.25 x 20mm, Cl 10.9

1шт.

36

84173552

AIR HOSE,7.11mm ID x 1000mm OAL

2шт.

37

87694057

CABLE TIE,200mm L

8шт.

38

84172815

AIR HOSE,7.11mm ID x 1150mm OAL

1шт.

39

84216054

HOSE

2шт.

40

84173550

AIR HOSE,7.1mm ID x 800mm OAL

1шт.

41

84372643

AIR HOSE

1шт.

Выбрано товаров: 41