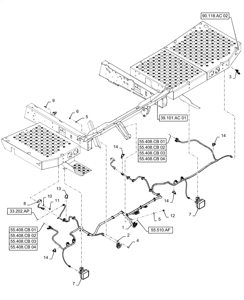
Запчасти Case IH 9240 (55.101.AC[12]) - WIRE HARNESS, OPERATORS LADDER, FRONT (55) - ELECTRICAL SYSTEMS

Схема запчастей Case IH 9240 - (55.101.AC[12]) - WIRE HARNESS, OPERATORS LADDER, FRONT (55) - ELECTRICAL SYSTEMS
55.408.cb 01
10
7
2
4
11
7
14
6
9
14
14
14
3
8
5
13
12
5
1
39.101.ac 01
55.510.af
55.408.cb 04
55.408.cb 04
55.408.cb 03
55.408.cb 03
33.202.ap
55.408.cb 02
55.408.cb 02
90.118.ac 02
55.408.cb 01
FIT
1:1
100%

Артикул

Название

Примечание

Количество

1

47823677

WIRE HARNESS

Platform

1шт.

2

87714969

HORN

With Breather

1шт.

3

84191453

SOCKET,12/24V, 20A

1шт.

4

86507486

CARRIAGE BOLT,M8 x 1.25 x 20mm, Cl 8.8

1шт.

5

322358

BELLEVILLE WASHER,M8 Bolt Size x 18mm OD x 1.4mm Thk

2шт.

6

9706690

NUT,M8 x 1.25, Cl 8

1шт.

7

87584890

LIGHT ASSY.,Halogen, 12V, 55W, Clear

2шт.

8

87026294

SENSOR

Inclination

1шт.

9

43117

SCREW,Hex, M6 x 1.0 x 30mm, Cl 8.8

2шт.

10

86588450

WASHER,6.6mm ID x 12mm OD x 1.6mm Thk

2шт.

11

353308

NUT,M6 x 1.0, Cl 8

2шт.

12

87681207

BOLT,M8 x 24.1mm, Cl 10.9

1шт.

13

86566989

CABLE TIE,208mm L

1шт.

14

84292754

CLIP,Cable Tie W/ Fir Tree, 5mm OD x 203mm OAL

11шт.

Выбрано товаров: 14