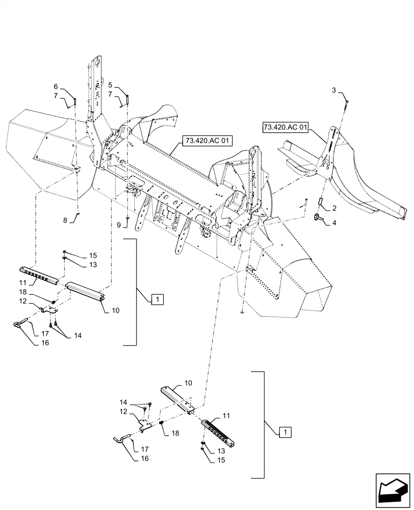
Запчасти Case IH 9240 (73.335.AK[04]) - VAR - 425339 - ADJUSTER, CHAFF SPREADER (73) - RESIDUE HANDLING

Схема запчастей Case IH 9240 - (73.335.AK[04]) - VAR - 425339 - ADJUSTER, CHAFF SPREADER (73) - RESIDUE HANDLING
15
2
13
7
14
9
7
12
73.420.ac 01
15
5
17
3
10
12
4
10
73.420.ac 01
11
6
16
8
1
1
11
14
17
18
13
18
16
FIT
1:1
100%

Артикул

Название

Примечание

Количество

1

47421566

ADJUSTER

Incl 10 - 18

2шт.

2

13606611

SPACER,9mm ID x 18mm OD x 50mm L

M8 x 18mm OD x 50mm OAL

1шт.

3

300660

CARRIAGE BOLT,M8 x 1.25 x 70mm, Cl 8.8

1шт.

4

84435462

HANDLE

Adjustment

1шт.

5

84256797

HEADED PIN,7.94mm OD x 44.45mm L

5/16" OD x 1-3/4" OAL, Gr 5

2шт.

6

439-1428

HEADED PIN,1/4" OD x 1-3/4" OAL, Gr 2

2шт.

7

300408

COTTER PIN,M3.2 x 14mm OAL

4шт.

8

140015

WASHER,6.4mm ID x 14mm OD x 1.6mm Thk

2шт.

9

378243

WASHER,8.4mm ID x 21mm OD x 1.6mm Thk

2шт.

10

47421565

GUIDE

Out, 118.3mm W x 300mm OAL x 2.9mm Thk

2шт.

11

47421564

GUIDE

In, 84.8mm W x 310mm OAL x 2.9mm Thk

2шт.

12

47505235

GUIDE

Pin, 91mm W x 108.6mm OAL x 2.89mm Thk

2шт.

13

84563161

BUSHING

Shoulder, 9mm ID x 24mm OD x 8mm Thk

4шт.

14

9804258

BOLT,Hex, M8 x 1.25 x 20mm, Cl 8.8

4шт.

15

9804277

FLANGE NUT,Hex, M8 x 1.25, Cl 8

4шт.

16

1319740C2

PIN,3mm OD x 20mm OAL

Ladder Support

2шт.

17

300865

LOCK PIN,M3 x 20mm OAL, Slotted

2шт.

18

87000071

COMPRESSION SPRING,47.2mm Free Length

2шт.

Выбрано товаров: 0