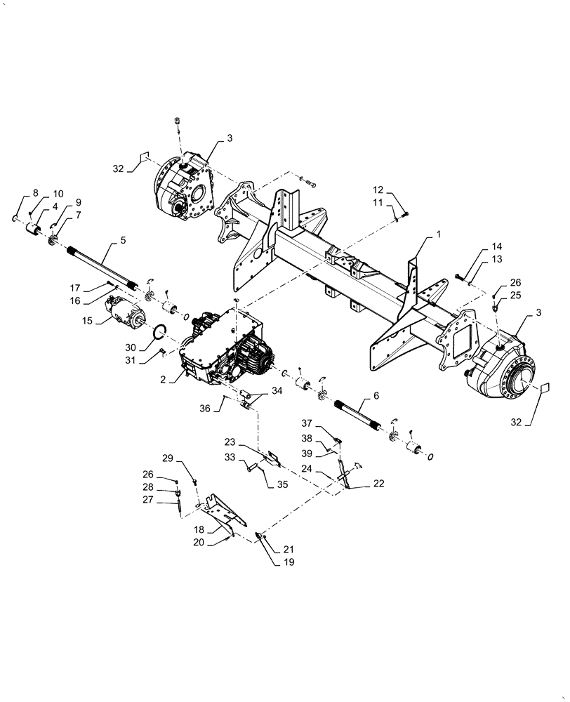
Запчасти Case IH AF4077 (25.100.AA[02]) - AXLE ASSY - DRIVE (25) - FRONT AXLE SYSTEM

Схема запчастей Case IH AF4077 - (25.100.AA[02]) - AXLE ASSY - DRIVE (25) - FRONT AXLE SYSTEM
6
34
26
9
31
32
37
4
38
39
11
2
23
16
7
3
28
3
17
32
12
22
10
33
27
36
13
5
14
18
8
35
26
21
15
20
30
19
24
25
29
1
FIT
1:1
100%

Артикул

Название

Примечание

Количество

1

47553289

Weld Assy, Drive

AXLE

1шт.

2

87393461

TRANSMISSION

Assy, Combine

1шт.

2

87393461R

REMAN-TRANSMISSION

Assy, Combine

1шт.

2

87393461C

CORE-TRANSMISSION

Return Number

1шт.

3

1997415C4

FINAL DRIVE

Assy, HD

2шт.

3

1997415C4R

REMAN-FINAL DRIVE

Assy, HD

2шт.

3

1997415C4C

CORE-FINAL DRIVE

Return Number

2шт.

4

84416330

COUPLING

Transmission to Final Driveshaft

4шт.

5

242839A1

SHAFT

Final Drive, 612mm

1шт.

6

47556157

Final Drive, 276mm

SHAFT

1шт.

7

244549A1

COLLAR

Shaft

4шт.

8

123763A1

SNAP RING

Final Drive Shaft

4шт.

9

245105A2

CLIP

Retention

4шт.

10

323713

LUBE NIPPLE,M6 x 1mm

Fitting

4шт.

11

86625266

WASHER,17.5mm ID x 30mm OD x 4mm Thk

4шт.

12

412398

BOLT,Hex, M16 x 2 x 50mm, Cl 10.9, Full Thd

4шт.

13

137339A2

WASHER,21mm ID x 33.5mm OD x 4mm Thk

22шт.

14

9843495

BOLT,Hex, M20 x 2.5 x 60mm, Cl 10.9

22шт.

15

87374877

HYDROSTATIC MOTOR

Fix, 89CC

1шт.

16

86625255

WASHER,13.3mm ID x 24.5mm OD x 3mm Thk

4шт.

17

87012129

BOLT,Hex, M12 x 40, 10.9, Full Thd

4шт.

18

47615323

Weld Assy, Transmission Shift Linkage

SUPPORT

1шт.

19

87364072

BEARING

Spherical, Flange

2шт.

20

87656137

BOLT,Flange Hex, M8 x 20mm, Cl 10.9

Flange

4шт.

21

86507066

FLANGE NUT,M8 x 1.25, Cl 10

4шт.

22

47616624

Weld Assy, Transmission Shift, Lower

LEVER

1шт.

23

47615262

Weld Assy, Shift Rail Control

LINK

1шт.

24

10733601

COTTER PIN,M3.2 x 22

Steel

1шт.

25

135950A1

ADAPTER

Final Drive Ventilation

2шт.

26

219-434

BREATHER,1/8" - 27 NPT, Short, W/ Washer

Fitting, Lube

3шт.

26

219-430

LUBE NIPPLE,1/8"-27 NPT x .50" lg, Press Relief

Fitting, Lube

1шт.

27

84198539

NIPPLE

1шт.

28

221-1344

COUPLING

1шт.

29

87698837

FLANGE BOLT,M10 x 30mm, Full Thd, Cl 10.9

3шт.

30

274336

O-RING,0.103" Thk x 4.737" ID, -158, Cl 5, 75 Duro

1шт.

31

516-23127

CLAMP,9/16", Insul, 3/8" Bolt

3шт.

32

403425A1

DECAL

2шт.

33

439-51240

HEADED PIN,19.05mm OD x 63.5mm L

1шт.

34

84129223

EXTENSION

Shift Rail, Plated

2шт.

34

192689C1

PIN,34.93mm OD x 73.7mm L

Extension, Rail Shift

1шт.

35

432-1624

COTTER PIN,1/4" x 1 1/2"

1шт.

36

38-31620

PIN,6.35mm OD x 31.75mm L

2шт.

37

213-125

ADJUSTABLE CLEVIS,5/16" - 32

1шт.

38

427-5094

CLEVIS PIN,7.92mm OD x 23.88mm L

1шт.

39

87016659

COTTER PIN,M2.5 x 20mm OAL

Steel

1шт.

Выбрано товаров: 45