Запчасти Case IH AF4077 (80.175.AG[02]) - BELT DRIVE UNLOADER (80) - CROP STORAGE/UNLOADING

Схема запчастей Case IH AF4077 - (80.175.AG[02]) - BELT DRIVE UNLOADER (80) - CROP STORAGE/UNLOADING
5
3
15
4
10
19
13
6
20
17
19
14
16
23
12
19
24
1
7
11
21
2
22
8
9
18
FIT
1:1
100%

Артикул

Название

Примечание

Количество

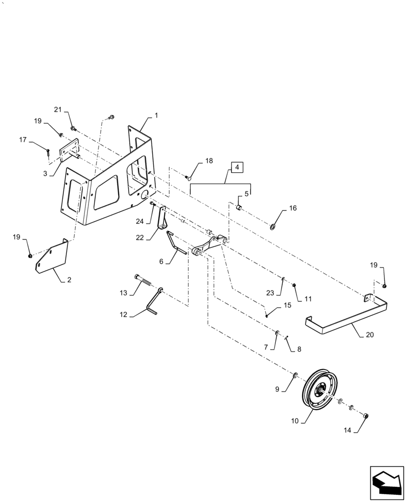
1

47681291

Unloader Drive Belt Idler

SUPPORT

1шт.

2

84298286

BRACKET

Support, Unloader Belt Trap, Upper

1шт.

3

1324456C1

SUPPORT

Assy, Unload Idler Arm

1шт.

4

47827464

Assy, Unloader Idler, Incl 5

ARM

1шт.

5

382638R2

BUSHING,19.07mm ID x 22.24mm OD x 19.05mm L

Unloader Belt Tight Arm

2шт.

6

87574299

ROD

Unloader Drive Belt Upper Retainer

1шт.

7

12626201

WASHER,10.2mm ID x 25mm OD x 3mm Thk

1шт.

8

130003

COTTER PIN,3mm OD x 30mm OAL

1шт.

9

86625266

WASHER,17.5mm ID x 30mm OD x 4mm Thk

2шт.

10

177195C1

PULLEY ASSY.

1шт.

11

86507066

FLANGE NUT,M8 x 1.25, Cl 10

1шт.

12

194894C1

ROD

1шт.

13

86521733

BOLT,Hex Flg, M16 x 90mm, Cl 10.9

1шт.

14

251843

LOCK NUT,M16 x 2, Cl 10

1шт.

15

87414

LUBE NIPPLE,1/4" - 28

Fitting, Special Taper Drive

1шт.

16

87016606

WASHER,20mm ID x 34mm OD x 3mm Thk

2шт.

17

412687

COTTER PIN,6.3mm OD x 32mm OAL

1шт.

18

87682392

CARRIAGE BOLT,M10 x 1.5 x 30mm, Cl 10.9

2шт.

19

86050279

FLANGE NUT,M10 x 1.5, Cl 10

6шт.

20

84298292

BRACKET

Support, Unloader Belt Shield

1шт.

21

87698836

BOLT,M10 x 25mm, Full Thd, Cl 10.9

4шт.

22

47568953

Bracket, Unload Engage

SUPPORT

1шт.

23

86625263

WASHER,9mm ID x 20mm OD x 1.6mm Thk

1шт.

24

87030775

BOLT,M8 x 38.1mm, Cl 10.9

1шт.

Выбрано товаров: 24