Запчасти Case IH AF4077 (33.110.AT[01]) - VALVE, PARKING BRAKE (33) - BRAKES & CONTROLS

Схема запчастей Case IH AF4077 - (33.110.AT[01]) - VALVE, PARKING BRAKE (33) - BRAKES & CONTROLS
10
2
4
5
3
7
1
8
6
10
12
11
9
11
FIT
1:1
100%

Артикул

Название

Примечание

Количество

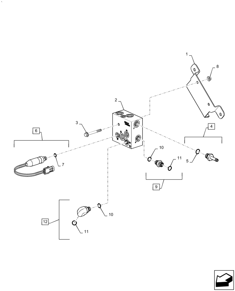
1

47472939

Park Brake Valve

SUPPORT

1шт.

2

47471637

Hydraulic Lift, Park Brake, Feeder Clutch

VALVE

1шт.

3

87656138

BOLT,M8 x 78.1mm, Cl 10.9

Flange

2шт.

4

84161344

ADAPTER

Fitting, Hose, Incl 5

1шт.

5

86598101

O-RING,2.2mm Thk x 15.3mm ID, Cl 6, 90 Duro

1шт.

6

47532787

PRESSURE SWITCH

Incl 7

1шт.

7

237-6005

O-RING,0.072" Thk x 0.414" ID, -905, Cl 6, 90 Duro

1шт.

8

86507066

FLANGE NUT,M8 x 1.25, Cl 10

2шт.

9

86579672

HYD CONNECTOR,11/16"-16 ORFS x M16 x 1.5 ORB

Incl 10, 11

4шт.

10

86598100

O-RING,2.2mm Thk x 13.3mm ID, Cl 6, 90 Duro

2шт.

11

9993141

O-RING,0.07" Thk x 0.364" ID, -12, Cl 6, 90 Duro

2шт.

12

86579687

ELBOW,90 Degree, 11/16"-16 x M16 x 1.5 ORB

Incl 10, 11

1шт.

Выбрано товаров: 12