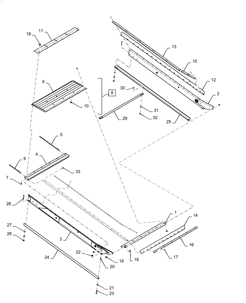
Запчасти Case IH AF4077 (74.114.AZ[01]) - FRAME, UPPER SIEVE (74) - CLEANING

Схема запчастей Case IH AF4077 - (74.114.AZ[01]) - FRAME, UPPER SIEVE (74) - CLEANING
3
1
26
23
25
19
22
11
28
19
33
14
15
6
5
21
12
9
18
17
10
30
27
20
29
32
13
2
4
31
7
16
24
8
FIT
1:1
100%

Артикул

Название

Примечание

Количество

1

47428472

Chaffer Frame

SUPPORT

1шт.

2

47427875

Assy, Upper Sieve, LH

SIDE RAIL

1шт.

3

47428002

Assy, Upper Sieve, RH

SIDE RAIL

1шт.

4

47428523

Chaffer Pan Support

CHANNEL

1шт.

5

47428525

Grain Pan, Long

FINGER

20шт.

6

47428527

Grain Pan, Short

FINGER

20шт.

7

87020310

CARRIAGE BOLT,M8 x 1.25 x 20.8mm, Cl 10.9

4шт.

8

47751321

Pan Assy, Grain, Incl 9, 10

GRAIN PAN

1шт.

9

NSS

NOT SOLD SEPARAT

Pan Weld Assy, Grain, Incl in 8

1шт.

10

87284531

NUT,Rivnut, M8 x 1.25, 0.5mm - 3mm Grip Range

6шт.

11

47428474

Chaffer Finger, Cover, Use for 2016

PLATE

1шт.

11

48021928

Chaffer Finger, Cover, Use from 2017

PLATE

1шт.

12

47428476

Sealing, Chaffer Frame

STRIP

2шт.

13

47428490

Chaffer Rail Seal

CLAMP

2шт.

14

47428475

Chaffer Frame, Front

SEAL

1шт.

15

47428477

Chaffer Extension Seal

CLAMP

2шт.

16

47428478

Front Chaffer Seal

RETAINER

1шт.

17

445395

RIVET,Pop, 4.8mm OD x 18.1mm L

24шт.

18

87681207

BOLT,M8 x 24.1mm, Cl 10.9

Flange

12шт.

19

86507066

FLANGE NUT,M8 x 1.25, Cl 10

20шт.

20

47430768

Plated

SPACER

2шт.

21

495-81135

WASHER,10.31mm ID x 25.4mm OD x 3.4mm Thk

2шт.

22

86512554

NUT,M10 x 1.5, Cl 10

2шт.

23

87698841

BOLT,Hex, M10 x 70mm, Cl 10.9

Flange

2шт.

24

47428479

Chaffer Support, RH

ANGLE

1шт.

25

47440638

Chaffer Support, LH

ANGLE

1шт.

26

863-10075

HEX SOC SCREW,M10 x 75mm, 12.9

2шт.

27

85700654

WASHER,10.5mm ID x 20mm OD x 2.5mm Thk

2шт.

28

87564742

NUT

4шт.

29

47430770

Pipe, Chaffer Spacer

PIPE

1шт.

30

374897

SCREW,Phil Flat Hd, M8 x 1.25 x 25mm, Cl 4.8

2шт.

31

492-11031

LOCK WASHER,5/16"

2шт.

32

825-5148

SERRATED NUT,M8, Flg Ser

2шт.

33

87656137

BOLT,Flange Hex, M8 x 20mm, Cl 10.9

Flange

4шт.

Выбрано товаров: 34