Запчасти Case IH AF4088 (29.100.AB) - MOTOR ASSY, HEAVY DUTY, HYDROSTATIC MOTOR, FIXED DISPLACEMENT (29) - HYDROSTATIC DRIVE

Схема запчастей Case IH AF4088 - (29.100.AB) - MOTOR ASSY, HEAVY DUTY, HYDROSTATIC MOTOR, FIXED DISPLACEMENT (29) - HYDROSTATIC DRIVE
16
5
3
19
7
2
8
18
6
15
6
9
6
15
10
9
12
18
10
1
19
17
7
7
8
11
13
14
11
4
FIT
1:1
100%

Артикул

Название

Примечание

Количество

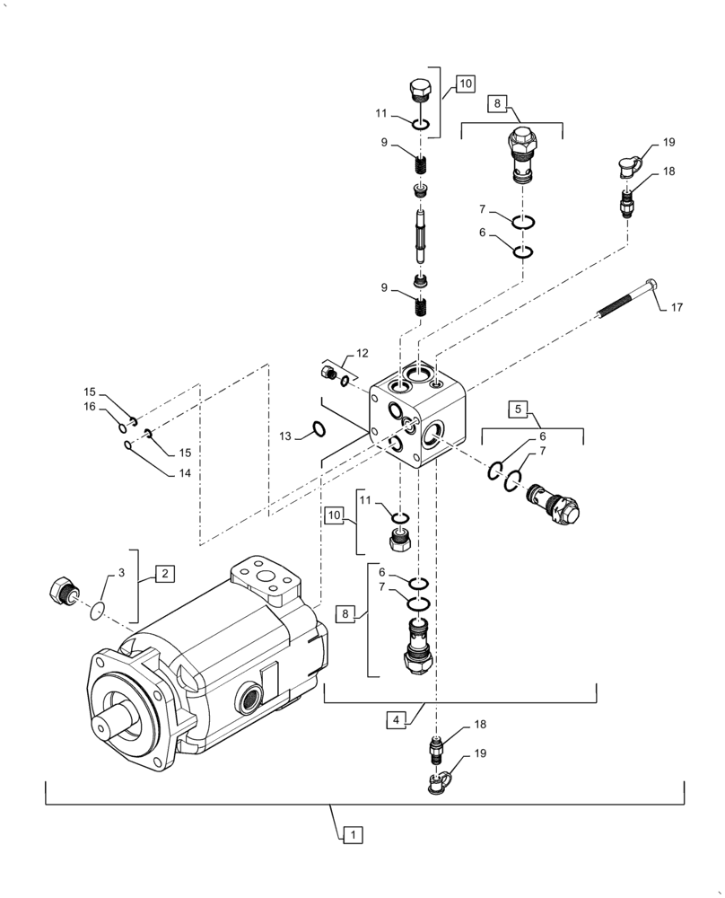
1

87374877

HYDROSTATIC MOTOR

Incl 2 - 19

1шт.

2

163410

PLUG,1-1/16" - 12 ORB

Hex, Incl 3

1шт.

3

167266

O-RING,0.116" Thk x 0.924" ID, -912, Cl 6, 90 Duro

1шт.

4

87479010

VALVE

Assy, Motor Relief, Incl 5 - 12

1шт.

5

140761C1

VALVE PRESSURE RELIE

Assy, Incl 6, 7

1шт.

6

237-6014

O-RING,0.116" Thk x 1.048" ID, -914, Cl 6, 90 Duro

1шт.

7

238-6117

O-RING,0.103" Thk x 0.799" ID, -117, Cl 6, 90 Duro

1шт.

8

84144765

VALVE PRESSURE RELIE

Cartridge, Incl 6, 7

2шт.

9

145560C1

SPRING

Valve Assy, Motor Relief

2шт.

10

86512512

PLUG,7/8" - 14 ORB

Incl 11

2шт.

11

167269

O-RING,0.097" Thk x 0.755" ID, -910, Cl 6, 90 Duro

1шт.

12

9672438

PLUG,7/16" - 20 ORB

1шт.

13

140747C92

SEAL KIT

Incl 14 - 16

1шт.

14

239-5018

O-RING,Square, 0.062" Thk x 0.75" ID, -18, Cl 5, 75 Duro

Sealing

1шт.

15

238-6018

O-RING,0.07" Thk x 0.739" ID, -18, Cl 6, 90 Duro

2шт.

16

631458C1

RING

2шт.

17

80012047

BOLT,Hex, 3/8" - 16 x 4", Grade 5

4шт.

18

R55912

NIPPLE

Diagnostic

2шт.

19

H434163

DUST CAP

Diagnostic Nipple

2шт.

Выбрано товаров: 19