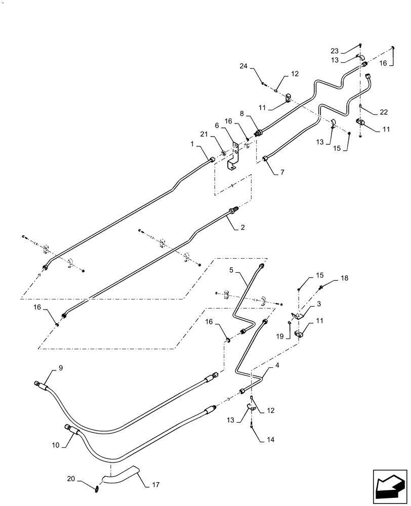
Запчасти Case IH AF4088 (41.200.AO[01]) - STEERING LINE, HYDRAULIC SYSTEM (41) - STEERING

Схема запчастей Case IH AF4088 - (41.200.AO[01]) - STEERING LINE, HYDRAULIC SYSTEM (41) - STEERING
20
2
11
14
9
4
6
10
22
15
16
15
23
8
11
13
3
21
24
16
13
13
17
12
11
16
5
7
12
19
16
18
1
FIT
1:1
100%

Артикул

Название

Примечание

Количество

1

47467997

Lift, Steer Right, Middle

HYD TUBE

1шт.

2

47467998

Lift, Steer Left, Middle

HYD TUBE

1шт.

3

84424031

BRACKET

Support, Steering Rear

1шт.

4

47467999

Lift, Steering Rear, Left

HYD TUBE

1шт.

5

47468000

Lift, Steering Rear, Right

HYD TUBE

1шт.

6

47507772

Steering Line Bulkhead, Painted

SUPPORT

1шт.

7

47468038

Lift, Steering, Left

HYD TUBE

1шт.

8

47468039

Lift, Steering, Right

HYD TUBE

1шт.

9

47468001

Hydraulic Lift, Steer Cylinder, Right

HYDRAULIC HOSE

1шт.

10

47468002

Hydraulic Lift, Steer Cylinder, Left

HYDRAULIC HOSE

1шт.

11

87589471

SPECIAL CLAMP

Body Rubber

6шт.

12

418785A1

SPACER

5шт.

13

418784A1

PLATE

Tube Clamp

6шт.

14

87698832

FLANGE BOLT,Hex, M6 x 35mm, Cl 10.9

4шт.

15

86050300

FLANGE NUT,M6 x 1.0, Cl 10

5шт.

16

9992298

O-RING,0.07" Thk x 0.489" ID, -14, Cl 6, 90 Duro

7шт.

17

229298A1

BOOT

Sleeve, Steer Hoses Rear

1шт.

18

87698835

FLANGE BOLT,M10 x 20mm, Full Thd, Cl 10.9

1шт.

19

86050279

FLANGE NUT,M10 x 1.5, Cl 10

1шт.

20

291207C1

CLAMP

Cable Tie

1шт.

21

86639083

BHD LOCK NUT,13/16"-16 ORFS, Bulkhead

2шт.

22

87560349

SLEEVE

Spacer Tube Clamp

1шт.

23

87675531

FLANGE BOLT,M6 x 26.6mm, Cl 10.9

1шт.

24

87670760

FLANGE BOLT,M6 x 56.6mm, Cl 10.9

1шт.

Выбрано товаров: 24